EasyManua.ls Logo

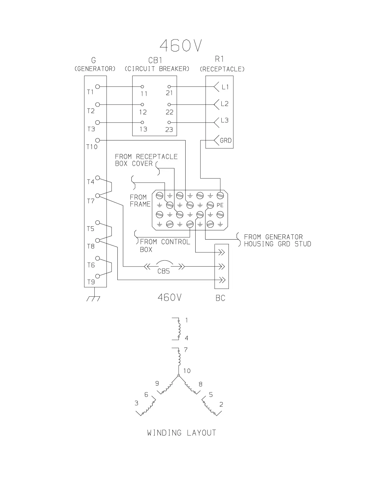
Carrier 69UG15 - Figure 6.15 Schematic Diagram 460 Volt Alternating Current Generator

Carrier 69UG15
76 pages
Print Icon
To Next Page IconTo Next Page
To Next Page IconTo Next Page
To Previous Page IconTo Previous Page
To Previous Page IconTo Previous Page
Loading...
6–15 T-343
Figure 6.15 Schematic Diagram 460 Volt Alternating Current Generator
(For Applicability, Refer to Table 2–1)
NOTE:
WHEN PE IS NOT FITTED, OUTPUT
GROUND WIRES ARE CONNECTED
DIRECTLY AT GENERATOR
TERMINAL STRIP TERMINAL T10.

Table of Contents

Related product manuals