EasyManua.ls Logo

Casit SCORRY500J - Page 7

Default Icon
10 pages
Print Icon
To Next Page IconTo Next Page
To Next Page IconTo Next Page
To Previous Page IconTo Previous Page
To Previous Page IconTo Previous Page
Loading...
7 Rev02 del 8 ottobre 2022
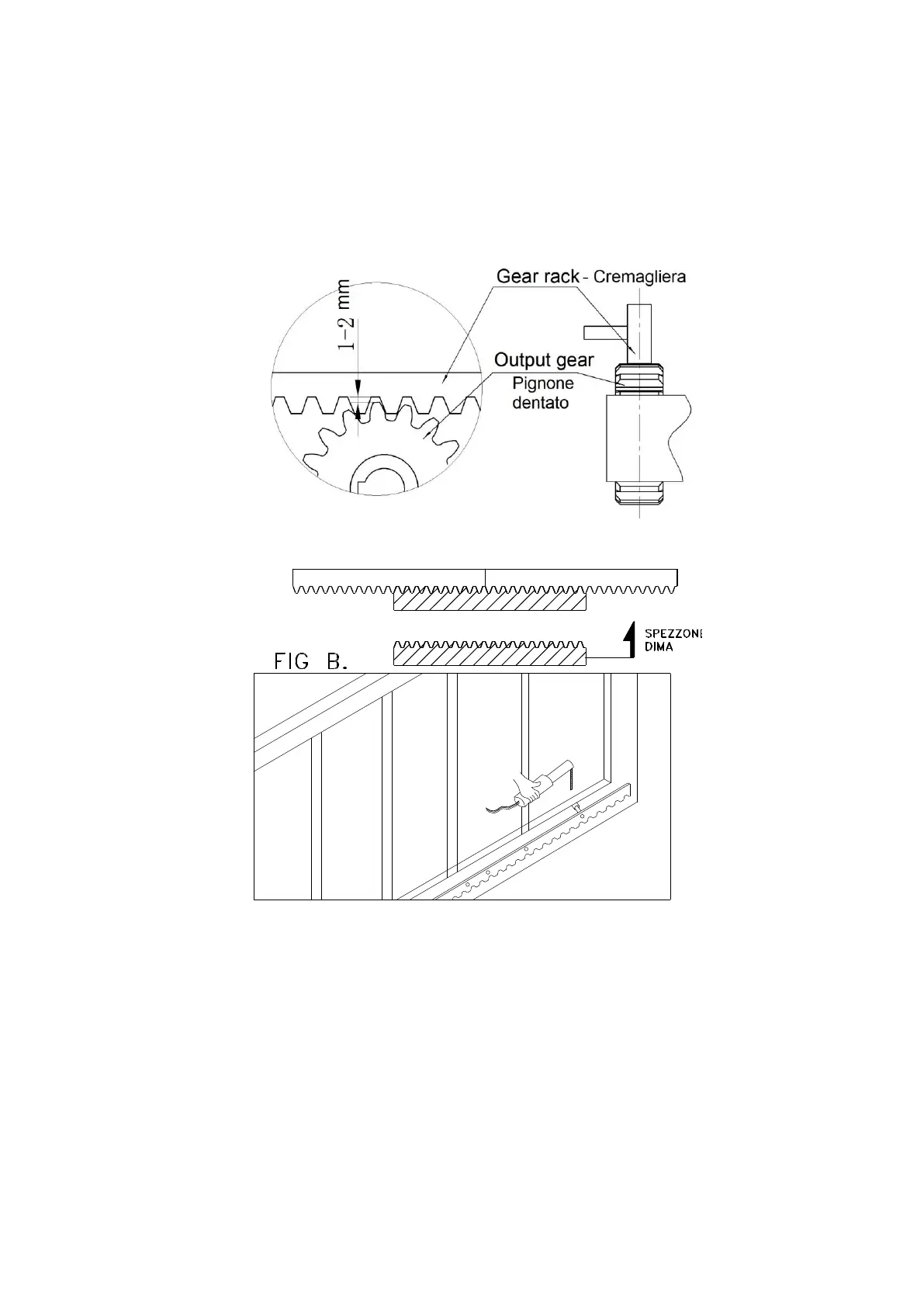
4.2.5. Installazione cremagliera - Gear rack installation Installation cremalliere
1-Fissare la viteria di montaggio sulla cremagliera.
2-Posizionare la cremagliera sull'ingranaggio di uscita( rispettare la distnaza di fig.A) ,quindi saldare i distanziali della
viteria di montaggio sul cancello. Se la cremagliera è il tipo in plastica, fissarla con le viti in dotazione invece di
saldarla. Curare particolarmente il passo della cremagliera usufruendo di 1 spezzone di cremagliera come riferimento.
FIG.B
3-Spostare manualmente il cancello (il cancello deve essere spostato senza intoppi dopo lo sblocco del motore), lo
scorrimento sia libero senza alcun impedimento.
4-Saldare saldamente tutti i diitanziali dele viti di montaggio sul cancello.
5-Accertarsi che tutta la cremagliera sia in bolla ed in linea retta.
FIG.A
FIG. C
1-Fix the mounting screws on the rack.
2-Place the rack on the output gear, then weld the spacers of the assembly screws on the gate. If the rack is the
unplastic type, fix it with the supplied screws instead of welding it. Particularly take care of the pitch of the rack using 1
piece of rack as a reference. FIG.B
3-Manually move the gate (the gate must be moved smoothly after unlocking the motor) to check if there is a space
between rack and output gear, as shown in Figure A.
4-Firmly weld all of the gears of the mounting screws on the gate.
5-Make sure that all the rack is level and in a straight line.
6-Pull the gate after installation, make sure that the sliding is free without any hindrance
1-Fixez les vis de montage sur le rack.
2-Placez la crémaillère sur le pignon de sortie, puis soudez les entretoises des vis de montage sur le portail. Si le rack
est du type non plastique, fixez-le avec les vis fournies au lieu de le souder. Faites particulièrement attention au pas du
rack en utilisant 1 morceau de rack comme référence. fig.B
3-Déplacez manuellement le portail (le portail doit être déplacé en douceur après le déverrouillage du moteur) pour
vérifier s'il y a un espace entre le rack et le pignon de sortie, comme illustré à la figure A.
4-Soudez fermement tous les engrenages des vis de fixation sur le portail.
5-Assurez-vous que tout le rack est de niveau et en ligne droite.
6-Tirez la porte après l'installation et assurez-vous que le coulissement est libre sans aucune entr

Related product manuals