EasyManua.ls Logo

Cata CHIM60SS - Page 25

Cata CHIM60SS
32 pages
Print Icon
To Next Page IconTo Next Page
To Next Page IconTo Next Page
To Previous Page IconTo Previous Page
To Previous Page IconTo Previous Page
Loading...
25
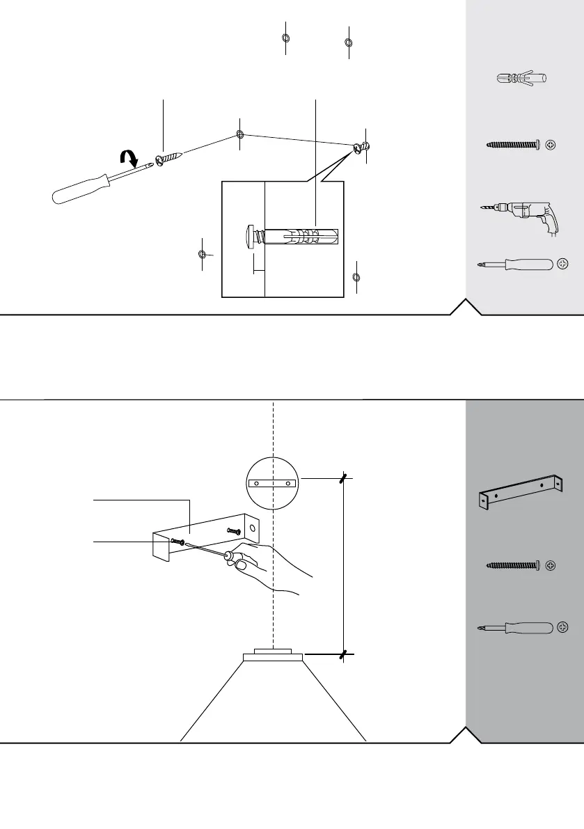
Fix the top bracket to the wall.
2mm
2mm
2mm
Drill the holes, insert the wall plugs in all 6 holes. Insert the screws in the middle 2 holes in g.03.
Maximum gap between top 2 holes and middle 2 holes can be no more than 786mm, dependant on ceiling height
[08][09]
[09] x 2
[08] x 6
[03]
[09]
04
03
MAX 786mm
[09] x 2
[03] x 1

Related product manuals