EasyManua.ls Logo

Cedar Ridge MTF30TBU - Page 16

Cedar Ridge MTF30TBU
32 pages
Print Icon
To Next Page IconTo Next Page
To Next Page IconTo Next Page
To Previous Page IconTo Previous Page
To Previous Page IconTo Previous Page
Loading...
www.usaprocom.com
200006-01B16
INSTALLATION
CAUTION: Use only new,
black iron or steel pipe. Inter-
nally tinned copper tubing may
be used in certain areas. Check
your local codes. Use pipe of
1/2" diameter or greater to allow
proper gas volume to heater. If
pipe is too small, undue loss of
pressure will occur.
CAUTION: For natural gas,
check your gas line pressure
before connecting heater to gas
line. Gas line pressure must be
no greater than 10.5" of water. If
gas line pressure is higher, heater
regulator damage could occur.
CAUTION: For propane/LP
gas, Never connect heater directly
to the gas supply. This heater
requires an external regulator
(not supplied). Install the external
regulator between the heater and
gas supply. Gas supplier provides
external regulator for natural gas.
The installer provides the external
regulator for propane/LP gas.
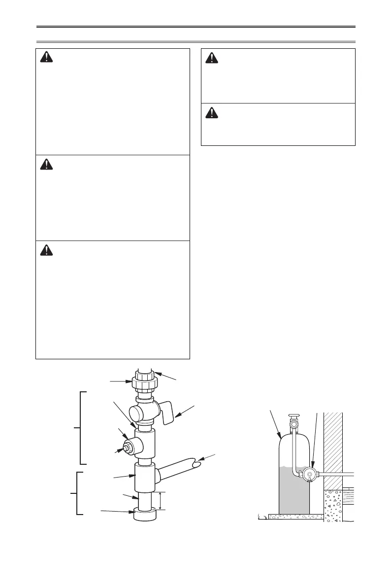
Figure 17 - Gas Connection
* Purchase the optional CSA design-certied equipment
shutoff valve from your dealer.
CAUTION: Avoid damage to
regulator. Hold gas regulator
with wrench when connecting
into gas piping and/or ttings.
CAUTION: Use pipe joint
sealant that is resistant to gas
(Propane/LP or Natural Gas).
Before installing heater, make sure you have
the items listed below:
piping (check local codes)
sealant (resistant to natural gas and pro-
pane/LP gas)
equipment shutoff valve*
test gauge connection*
sediment trap
tee joint
pipe wrench
exible gas hose (check local codes)
* A CSA design-certied equipment shutoff
valve with 1/8" NPT tap is an acceptable al-
ternative to test gauge connection. Purchase
the optional CSA design certied equipment
shutoff valve from your dealer.
Typical Inlet Pipe Diameters
Use 3/8" black iron pipe or greater. Installa-
tion must include an equipment shutoff valve,
union, and plugged 1/8" NPT tap. Locate
NPT tap within reach for test gauge hook up.
NPT tap must be upstream from heater (see
Figure 17).
Figure 18 - External Regulator
with Vent Pointing Down
External
Regulator with
Vent Pointing
Down
Propane/LP
Supply Tank
Equipment
Shutoff Valve
Ground
Joint Union
3/8" NPT
Pipe Nipple
Tee Joint
Reducer
Bushing to
1/8" NPT
1/8" NPT
Plug Tap
Test Gauge
Connection*
Sediment
Trap
Tee Joint
Pipe Nipple
Gap
3" Minimum
Natural Gas
From Gas Meter (5"
W.C.** to 10.5" W.C.
Pressure)
Propane/LP
From External
Regulator (11"
W.C.** to 14" W.C.
Pressure)

Related product manuals