EasyManua.ls Logo

Cedes Safe4 - Perimeter Systems

Default Icon
24 pages
Print Icon
To Next Page IconTo Next Page
To Next Page IconTo Next Page
To Previous Page IconTo Previous Page
To Previous Page IconTo Previous Page
Loading...
Operation Manual Safe2+ / Safe4
© CEDES Safety & Automation AG / June 2008 www.cedes.com 7
4.5. Perimeter systems
Perimeter systems are usually produced by means
of several single beam light barriers. But the flexibil-
ity of the Safe2+ or Safe4 system allows also the
production of vertical entry safeguarding according to
the standard EN 999. Such systems are composed
of active and passive elements in one compact pro-
file. The element length of each is 120 mm.
The big advantage of Safe 2+ or Safe4 Perimeter
systems is the easy way of mounting and the un-
complicated way of starting up the operation. The
time needed to connect the wires and aligning the
optics is drastically reduced in comparison to stan-
dard Perimeter systems consisting of single beam
light barriers, where often mirrors are also included
which can only be positioned with difficulties.
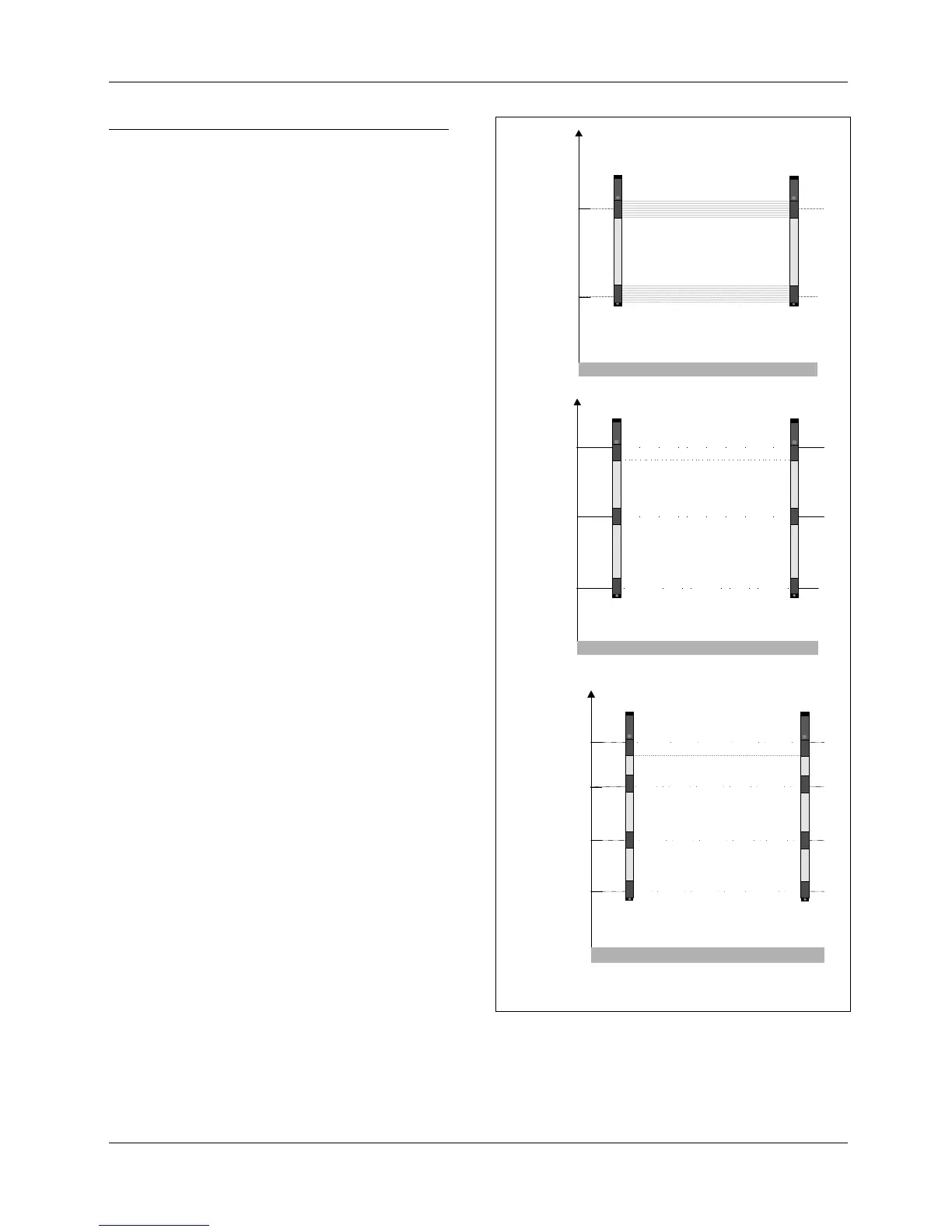
The protective field and the active elements respec-
tively, are clearly recognized as black surfaces with
the integrated optical lenses. The not monitored
areas (passive elements) are also clearly indicated
as yellow surfaces.
400
900
Distance to reference plane [mm]
Reference plane (e.g. ground)
0
CEDES
CEDES
300
1100
Distance to reference plane [mm]
Reference plane (e.g. ground)
0
700
CEDES
CEDES
300
1200
Distance to reference plane [mm]
Reference plane (e.g. ground)
0
600
900
CEDES
CEDES
Figure 9: Perimeter systems (2-, 3- and 4-beams), accord. to EN
999 [1998]

Related product manuals