EasyManua.ls Logo

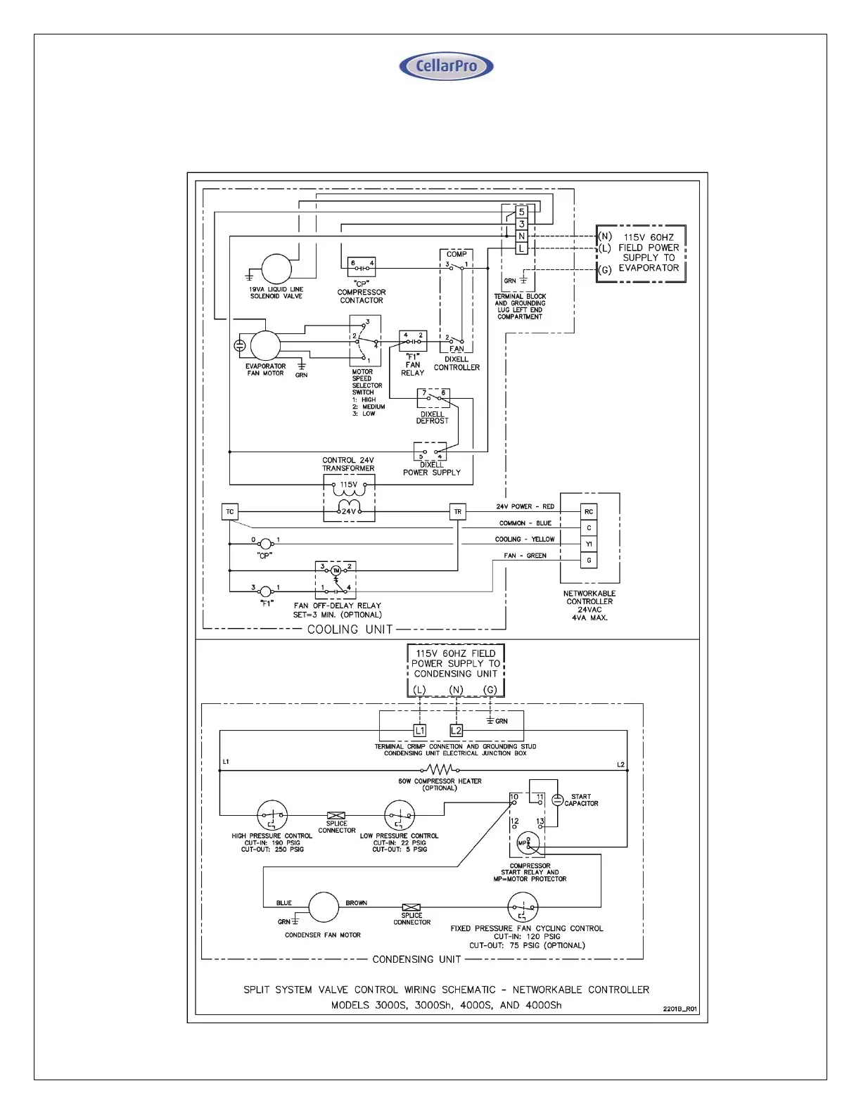
CellarPro 4000S - Appendix G: Models 3000 S;3000 Sh;4000 S;4000 Sh Dual Power Valve Control Networkable Thermostat Wiring

Default Icon
58 pages
Print Icon
To Next Page IconTo Next Page
To Next Page IconTo Next Page
To Previous Page IconTo Previous Page
To Previous Page IconTo Previous Page
Loading...
 52
V8.18
Wiring Diagram - Models 3000S, 3000Sh, 4000S, 4000Sh Appendix G
– Dual Power / Valve Control
– Networkable Thermostat Upgrade

Related product manuals