Home
CENTR
Home Gym
1
Page 12 (Step 2 Assembly)
CENTR 1 - Step 2 Assembly
35 pages
Manual
Save Page as PDF
To Next Page
To Next Page
To Previous Page
To Previous Page
Loading...
Pg. 12
V07
122023-C5
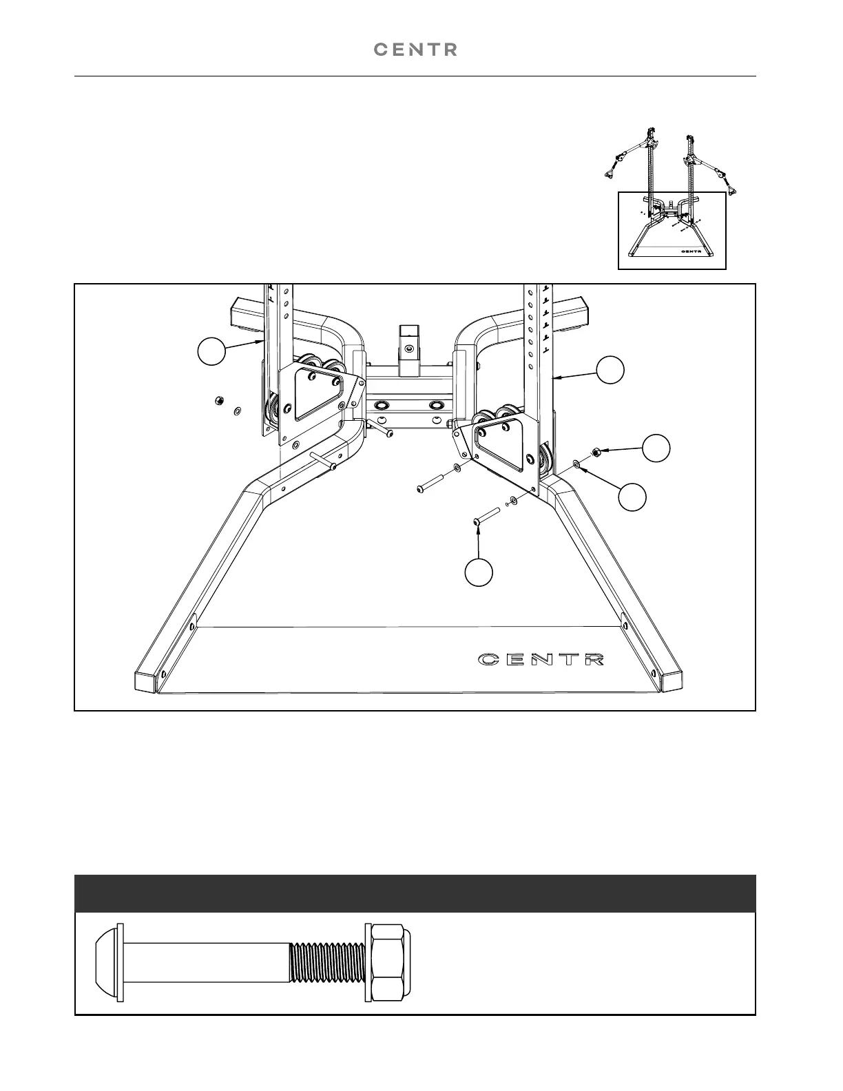
(48)
BOL
T
, M10 X 1.5 X 75
, SH
, BZ
,
.
(25)
W
ASHER, FLA
T
, 1
1 X 20 X 2, BZ
,
.
(26)
NUT
, M10 X 1.5, L
O
CK
, BZ
,
.
HARDW
ARE REQUIRED:
6
6
7
7
26
26
25
25
24
24
7
48
25
26
6
11
13
Table of Contents
Main Page
Product Warranty
3
Table of Contents
5
Important Safety Notice
6
Hardware Pack (Not to Scale)
7
Assembly
11
Cable Routing Diagram
23
Decal Placement
24
Exploded Diagram
25
Maintenance
26
Parts List
27
Folding Adjustable Bench User Manual
28