EasyManua.ls Logo

CHAINTECH CT-6BSA - Page 16

CHAINTECH CT-6BSA
56 pages
Print Icon
To Next Page IconTo Next Page
To Next Page IconTo Next Page
To Previous Page IconTo Previous Page
To Previous Page IconTo Previous Page
Loading...
Chapter 2
12
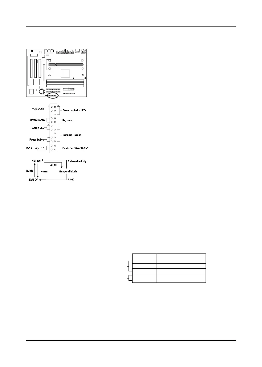
Front Panel Connector Set (CN8) A through G
A. Over-ride Power Button Connector
The power button on the ATX chassis can be used as a
normal power switch as well as a device to activate
Advanced Power Management Suspend mode. This mode
is used for saving electricity when the computer is not in use
for long periods of time. The Soft-OFF by PWR-BTTN
function in BIOS's Power Management Setup menu must be
set to "Delay 4 Sec." to activate this function. (See section
3-4)
When the Soft-OFF by PWR-BTTN function is enabled,
pushing the power button rapidly will switch the system to
Suspend mode. Any occurence of external activities such
as pressing a key on the keyboard or moving the mouse will
bring the system back to Full-On. Pushing the button while
in Full-On mode for more than 4 seconds will switch the
system completely off. See Over-ride Power Button
Operation diagram.
B. Keyboard Lock & Power Indicator LED
Connector
Plugging this connector into the lock on the front panel
of the system case allows the lock to enable or disable
the keyboard. This function provides limited security
against casual intruders. The power indicator LED shows
the system's power status. It is important to pay attention
to the correct cables and pin orientation (i.e., not to
reverse the order of these two connectors.)
Blinking LED in Suspend Mode
While in Suspend mode, the LED light on the front panel of your computer will flash.
Suspend mode is entered by pressing the Override Power Button, pushing the Green
button on your ATX case, or enabling the Power Management and Suspend Mode
options in BIOS's Power Management menu. (See section 3-4)
Pin Definition
1 +5V DC
2 No Connect
3 Ground
4 Keylock
5 Ground
Keyboard Lock
Power Good LED
Over-ride PowerOver-ride Power
Over-ride PowerOver-ride Power
Over-ride Power
ButtonButton
ButtonButton
Button
1
+
1
1
1
+
1
+
1
1
1

Related product manuals