EasyManua.ls Logo

CHIEF CMSZ006 - Page 4

CHIEF CMSZ006
8 pages
Print Icon
To Next Page IconTo Next Page
To Next Page IconTo Next Page
To Previous Page IconTo Previous Page
To Previous Page IconTo Previous Page
Loading...
CMSZ006 Installation Instructions
4
Installation
The following procedure assumes that the listed ceiling plate/
adapter (accessory purchased separately) has been previously
installed. See instructions provided with listed plate/adapter.
NOTE:
Intended for use with Chief accessories and mounts.
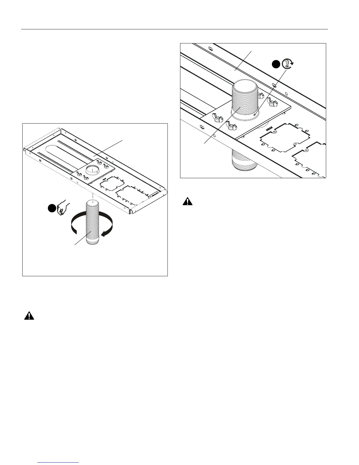
1. Install 6" fully threaded column extension (A) into plate/
adapter to desired position. Ensure column (A) engages at
least five full threads into plate adapter. (See Figure 1)
Figure 1
2. Secure column (A) to plate/adapter by tightening set screw
in plate/adapter (See Figure 1).
WARNING:
Improper installation can result in serious injury
or damage to equipment! The set screw in plate/adapter
MUST BE TIGHTENED in order to fully secure the extension
column to the plate/adapter!
Figure 2
WARNING:
Exceeding the weight capacity can result in
serious personal injury or damage to equipment! It is the
installer’s responsibility to make sure the combined weight of
all components attached to the CMSZ006 Extension Column
does not exceed 500 lbs (226 kg).
NOTE:
The weight capacity of the CMSZ006 Extension
Column may be LIMITED to the lowest weight capacity
of any other component located between the CMSZ006
Extension Column and the supporting structure!
3. Install and secure projector/display mount to lower end of
column (A). See instructions provided with mount.
1
(A)
ceiling plate(example)
set screw
2
(A)
ceiling plate(example)

Related product manuals