EasyManua.ls Logo

CHIEF RMT2 - Install Brackets to Display

CHIEF RMT2
12 pages
Print Icon
To Next Page IconTo Next Page
To Next Page IconTo Next Page
To Previous Page IconTo Previous Page
To Previous Page IconTo Previous Page
Loading...
Installation Instructions RMT2/RLT2/RXT2
9
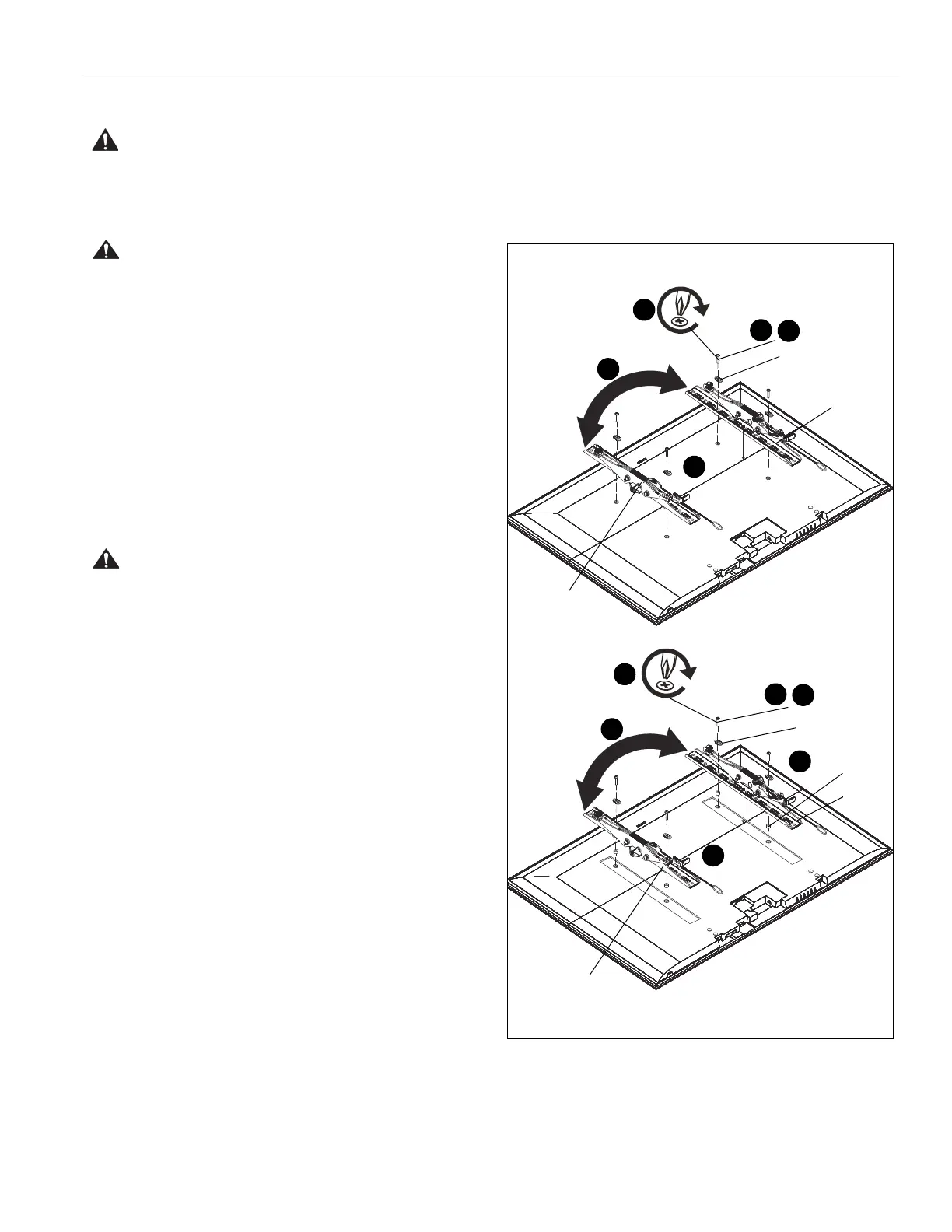
Install Brackets to Display
WARNING: The minimum hole pattern size is 100mm x
100mm for the RMT2 and RLT2 and 200mm x 200mm for the
RXT2.
1. Lay display face down on protective surface.
CAUTION: Using screws of improper diameter may
damage your display! Proper screws will easily thread into
display mounting holes.
2. Select screw diameter by examining hardware (GA-GO)
(8mm, 6mm, 5mm, or 4mm) and comparing with mounting
holes on display. (See Figure 8)
3. Select spacers: (See Figure 8)
If mounting holes are not recessed and both
brackets (B or C) can lay flat against display, then
no spacers are required.
If mounting holes are recessed, or if protrusions
prevent brackets (B or C) from laying flat, then
spacers (GP or GQ) must be used. Select
shortest spacer which will provide adequate fill.
All spacers must be same length.
CAUTION: Using screws of improper length may damage
your display! Proper screws will have adequate thread
engagement without contacting bottom of display mounting
holes.
IMPORTANT ! : The M8 screws do NOT require a
washer. Use the universal washer (GS) ONLY with M4,
M5 and M6 screws.
4. Select screw length: (See Figure 8)
Using your hand, insert SHORTEST length screw
of selected diameter (GA, GE, GI or GL) through
bracket (B or C), universal washer (GS, if
required), selected spacer (GP or GQ, if
required), into display mounting hole. Do NOT
thread screw into hole at this time.
Proper screw length requires base of screw head
to protrude above flat washer a distance equal to
or greater than the screw diameter. If screw
length is inadequate, select longer screw. Select
shortest screw which will protrude the required
distance.
5. Place brackets (B and C) on display, ensuring: (See
Figure 8)
Upper hooks are towards top of display.
Center of brackets (B and C) are as close to the
center of the back of display as possible after
being installed. Center of bracket is indicated by
the diamond-shaped hole.
6. If installing display with wide hole pattern, it may be
necessary to swap the uprights (B and C). See Switching
Interface Brackets section for details.
7. Using Phillips screwdriver, carefully install selected screws
through universal washers (GS, if required), brackets (B
and C), and spacers (GP or GQ, if required), into display.
(See Figure 8)
8. Tighten all screws. Ensure all applicable display mounting
holes (4, 6, or 8) are used.
Figure 8
(non-recessed holes)
(recessed holes)
6
(GA-GO) x4,x6,x8
(GS) x4,x6,x8
2
4
5
7
(GA-GO) x4,x6,x8
2
4
5
(GS) x4,x6,x8
(GP or GQ)
3
7
(C)
(B)
(C)
6
(B)
NOTE: Use universal washer (GS) ONLY with M4,
M5 and M6 screws.
NOTE: Use universal washer (GS) ONLY with M4,
M5 and M6 screws.

Related product manuals