EasyManua.ls Logo

Climax BB4500 - Page 148

Default Icon
162 pages
Print Icon
To Next Page IconTo Next Page
To Next Page IconTo Next Page
To Previous Page IconTo Previous Page
To Previous Page IconTo Previous Page
Loading...
Page 132 BB4500-BB5000 Operating Manual
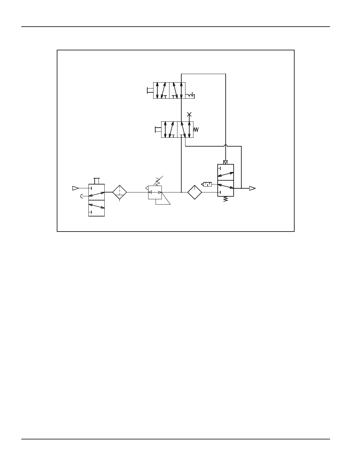
FIGURE C-13. PNEUMATIC CONDITIONING UNIT SCHEMATIC (P/N 59248)
4
55
44
22
4
11
33
55
33
E-STOPE-STOP
22
11
XPXP
STARTSTART
V1V1
33
11
22
SHUTOFF

Table of Contents

Related product manuals