EasyManua.ls Logo

Colgate blast - Adjusting Pressure Settings

Colgate blast
10 pages
Print Icon
To Next Page IconTo Next Page
To Next Page IconTo Next Page
To Previous Page IconTo Previous Page
To Previous Page IconTo Previous Page
Loading...
USING THE WATER FLOSSER:
1. Place the nozzle into your mouth before
turning the device on.
2. Align the nozzle against your teeth and
gumline.
3. Work the nozzle along the gumline, paying
special attention to the area between
teeth and around braces.
4. While flossing, open your mouth slightly to
avoid water splashing.
5. Keep the flosser upright during use to
prevent the tube in the tank from restricting
water flow.
6. The water tank should allow for up to
60 seconds of flossing depending on the
mode. Refill water tank as needed to
complete flossing session.
INSERTING AND REMOVING
THE NOZZLE:
1. Remove the nozzle from the package.
2. Insert the nozzle into the nozzle jack until
it clicks into place.
3. To remove the nozzle, press and hold the
nozzle eject button and gently pull out the
nozzle.
4. To store, place the nozzle in the storage
compartment as shown below.
3. The default mode for the water flosser is
Gentle, it is recommended to start on the
Gentle mode and gradually increase
modes if desired.
ADJUSTING THE PRESSURE
SETTINGS:
1. Device turns on in the last mode used.
2. Press the mode button to switch between
pressure settings for your preferred
flossing style:
· Gentle: Low pressure mode
· Regular: Regular pressure mode for daily
cleaning
· Pulse: Pulsation pattern for gum massaging
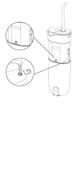
FILLING THE WATER TANK:
1. Open the water tank cover, then pull
the tank down to the marked line.
2. Lay the flosser flat, face the opening
towards the faucet and fill with either
cold/lukewarm water or mouthwash.
You may use warm water up to 40°C/104F.
3. After filling the tank with water, close the
cover firmly, and dry off any excess liquid.
Warning: Do not eject nozzle during operation.

Related product manuals