EasyManua.ls Logo

CONSTRUCTA CA32125 Series - Désactivation Automatique; Réglages de Base

CONSTRUCTA CA32125 Series
Print Icon
To Next Page IconTo Next Page
To Next Page IconTo Next Page
To Previous Page IconTo Previous Page
To Previous Page IconTo Previous Page
Loading...
Désactivation automatique fr
19
7  Désactivation automatique
Si vous ne modifiez pas les réglages d’un foyer pen-
dant une longue durée, la désactivation automatique
s’active.
Le moment de la coupure automatique du foyer dé-
pend de la position de chauffe réglée (1 à 10heures).
Le chauffage du foyer est éteint. Dans l’affichage des
foyers, et l’indicateur de chaleur résiduelle ⁠/ cli-
gnotent en alternance.
7.1 Continuer à cuisiner après la
coupure automatique
1.
Appuyer sur un champ tactile quelconque.
a L’affichage s’éteint.
2.
Régler à nouveau.
8  Réglages de base
L'appareil peut être réglé en fonction de vos besoins
personnels.
8.1 Aperçu des réglages de base
Vous trouverez ici un aperçu des réglages de base et
des valeurs préréglées en usine.
Affi-
chage
Choix
Sécurité enfants automatique
– Désactivé.
1
– Activé.
– Sécurité enfants manuelle et automatique
désactivées.
Signal sonore
– Le signal sonore de validation et le signal
sonore d’erreur de manipulation sont désacti-
vés. Le signal sonore de l’interrupteur princi-
pal reste activé.
– Seul le signal d’erreur de manipulation
est activé.
– Seul le signal de validation est activé.
– Le signal sonore de validation et le signal
sonore d’erreur de manipulation sont
activés.
1
Temps de sélection des foyers
– Illimité: vous pouvez toujours régler le
dernier foyer sélectionné sans le sélectionner
à nouveau.
1
– Vous pouvez régler le foyer dernièrement
sélectionné 10secondes après la sélection.
Ensuite, vous devez resélectionner le foyer
avant de procéder au réglage.
Rétablir au réglage usine
– Désactivé.
1
– Activé.
1
Réglage usine
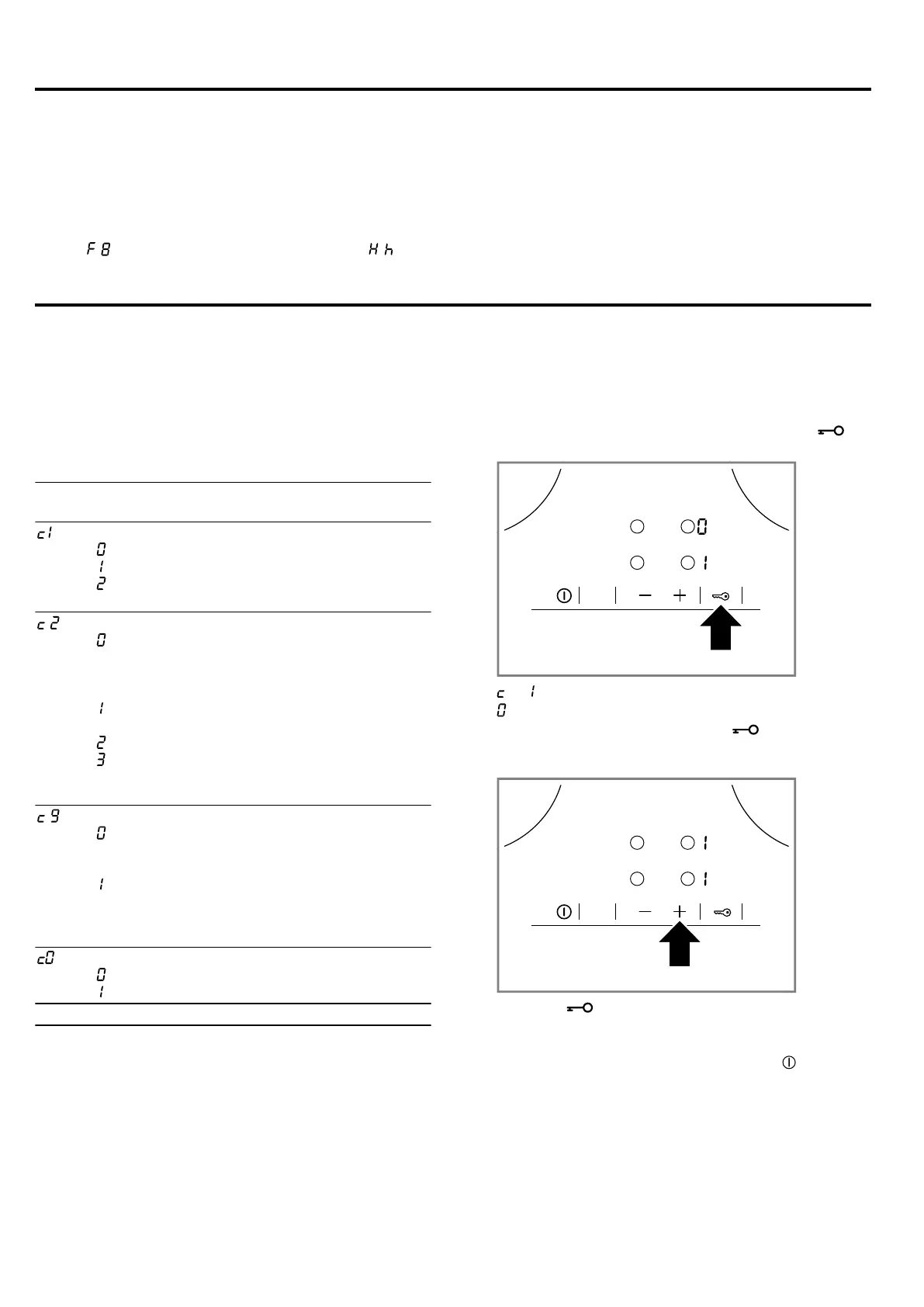
8.2 Modifier le réglage de base
Condition:La table de cuisson est éteinte.
1.
Allumer la table de cuisson.
2.
Dans les 10secondes qui suivent, maintenir ac-
tionné pendant 4secondes.
a et clignotent en alternance sur l’écran inférieur.
a s’allume à l’écran supérieur.
3.
Effleurer à plusieurs reprises sur jusqu’à ce que
l’affichage désiré apparaisse sur l’écran inférieur.
4.
Régler la valeur désirée dans la zone de réglage.
5.
Maintenir appuyé pendant 4secondes.
a Le réglage est activé.
Conseil:Pour quitter les réglages de base sans sau-
vegarde, éteindre la table de cuisson avec . Rallumer
la table de cuisson et la régler à nouveau.

Other manuals for CONSTRUCTA CA32125 Series

Related product manuals