EasyManua.ls Logo

CONSTRUCTA CA32125 Series - Automatische Abschaltung; Grundeinstellungen

CONSTRUCTA CA32125 Series
Print Icon
To Next Page IconTo Next Page
To Next Page IconTo Next Page
To Previous Page IconTo Previous Page
To Previous Page IconTo Previous Page
Loading...
Automatische Abschaltung de
9
7  Automatische Abschaltung
Wenn Sie die Einstellungen einer Kochstelle lange Zeit
nicht ändern, wird die automatische Abschaltung aktiv.
Wann die Kochstelle abschaltet, richtet sich nach der
eingestellten Kochstufe (1 bis10Stunden).
Die Heizung der Kochstelle wird ausgeschaltet. In der
Kochstellen-Anzeige blinken abwechselnd und die
Restwärmeanzeige ⁠/ ⁠.
7.1 Nach automatischer Abschaltung
weiterkochen
1.
Auf ein beliebiges Touch-Feld tippen.
a Die Anzeige erlischt.
2.
Neu einstellen.
8  Grundeinstellungen
Sie können Ihr Gerät auf Ihre Bedürfnisse einstellen.
8.1 Übersicht über die
Grundeinstellungen
Hier erhalten Sie eine Übersicht über die Grundein-
stellungen und die werksseitig voreingestellten Werte.
An-
zeige
Auswahl
Automatische Kindersicherung
– Ausgeschaltet
1
– Eingeschaltet
– Manuelle und automatische Kindersiche-
rung sind ausgeschaltet.
Signalton
– Bestätigungssignal und Fehlbedienungs-
signal sind ausgeschaltet. Das Hauptschalter-
signal bleibt eingeschaltet.
– Nur das Fehlbedienungssignal ist einge-
schaltet.
– Nur das Bestätigungssignal ist einge-
schaltet.
– Bestätigungssignal und Fehlbedienungs-
signal sind eingeschaltet.
1
Auswahlzeit der Kochstellen
– Unbegrenzt: Sie können die zuletzt ge-
wählte Kochstelle immer einstellen, ohne neu
auszuwählen.
1
– Sie können die zuletzt gewählte Koch-
stelle innerhalb von 10Sekunden nach der
Auswahl einstellen. Danach müssen Sie die
Kochstelle vor dem Einstellen neu auswäh-
len.
Auf die Werkseinstellung zurücksetzen
– Ausgeschaltet.
1
– Eingeschaltet.
1
Werkseinstellung
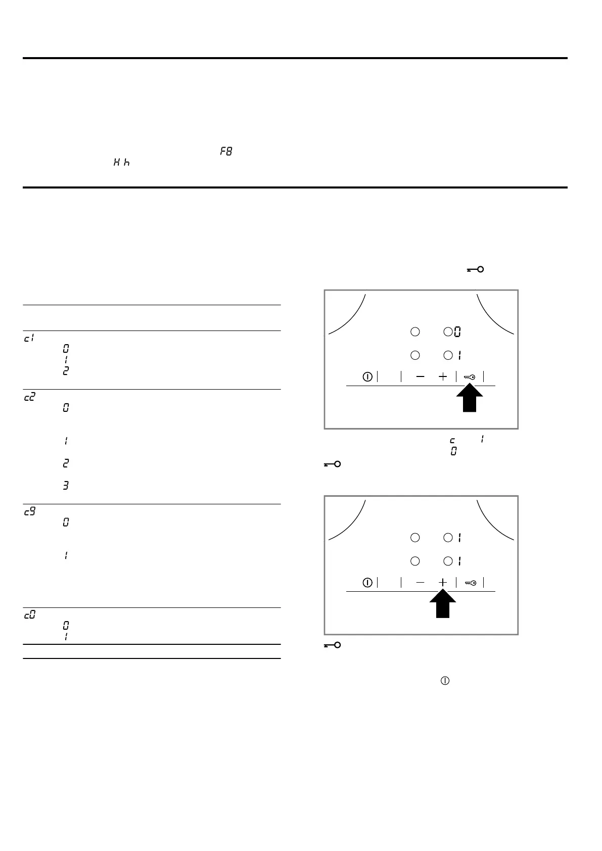
8.2 Grundeinstellung ändern
Voraussetzung:Das Kochfeld ist ausgeschaltet.
1.
Das Kochfeld einschalten.
2.
In den nächsten 10Sekunden 4Sekunden ge-
drückt halten.
a Im unteren Display blinken und abwechselnd.
a Im oberen Display leuchtet ⁠.
3.
so oft tippen, bis im unteren Display die ge-
wünschte Anzeige erscheint.
4.
Im Einstellbereich den gewünschten Wert einstellen.
5.
4Sekunden gedrückt halten.
a Die Einstellung ist aktiviert.
Tipp:Um die Grundeinstellungen ohne Speichern zu
verlassen, das Kochfeld mit ausschalten. Das Koch-
feld wieder einschalten und neu einstellen.

Other manuals for CONSTRUCTA CA32125 Series

Related product manuals