EasyManua.ls Logo

COOL HEAD RC600 - Bedienung

COOL HEAD RC600
106 pages
Print Icon
To Next Page IconTo Next Page
To Next Page IconTo Next Page
To Previous Page IconTo Previous Page
To Previous Page IconTo Previous Page
Loading...
92
Bedienung
95
DE
Halten Sie die folgenden Hinweise ein, um ein bestmögliches Ergebnis zu erzielen:
Füllen Sie das Gerät erst dann mit Lebensmitteln, wenn es die gewünschte Betriebstemperatur erreicht hat.
Stellen Sie niemals unverschlossene heiße Speisen oder Flüssigkeiten in das Gerät.
Lebensmittel sollten immer gut verpackt oder abgedeckt sein.
Die Ventilatoren im Inneren des Gerätes dürfen nicht blockiert sein.
Vermeiden Sie Türöffnungen über längere Zeiträume.
Lagern Sie Lebensmittel im G
erät in entsprechenden Behältern. Lebensmittel sollten nicht unverpackt im Gerät
gelagert werden.
Aufbewahrung von Lebensmitteln
Das Gerät einschalten
Schließen Sie die Tür des Gerätes.
Der Netzschalter muss sich in der Position [O] befinden. Stecken Sie den Netzstecker in eine geeignete Steckdose.
Schalten Sie den Netzschalter auf die Position [I]. Die gegenwärtige Temperatur im Geräteinneren wird angezeigt.
Das auf dem Bedienfeld blinkt, um die Verzögerung des Kompressorstarts anzuzeigen.
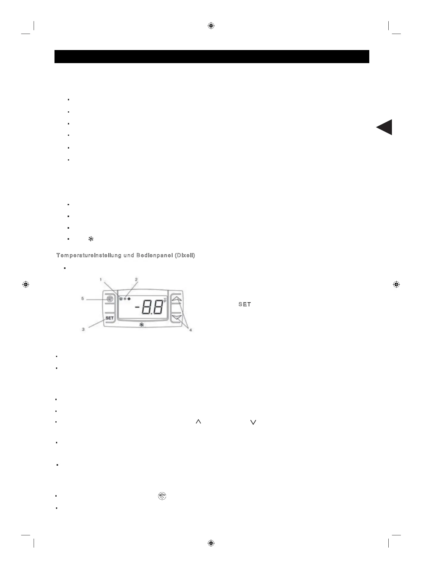
T em p e ratu reins te llung u n d B edienp a ne l (D ixe ll)
Das Bedienpanel des Thermostats:
1. Abtauindikator
2. Kompressorfunktionsindikator
3. S
E T Taste
4. Temperatureinstellungstasten
5. Abtautaste
Eingestellte Temperatur ablesen
Drücken Sie einmal kurz die SET-Taste. Der Sollwert wird angezeigt.
Drücken Sie die SET-Taste erneut und lassen Sie sie sofort los oder warten Sie für 15 Sekunden damit die normale Betriebsan
zeige wieder erscheint.
Eingestellte Temperatur verändern
Halten Sie die SET-Taste für mehr als zwei Sekunden gedrückt, um einen neuen Wert einzustellen.
Der Temperaturwert wird angezeigt und das „°C“ beginnt zu blinken.
Um den eingestellten Wert zu ändern, drücken Sie die „ ” (erhöhen) oder “ ” (verringern) Tasten innerhalb von 15
Sekunden.
Um den neuen Temperaturwert zu speichern, drücken Sie entweder die SET-Taste erneut oder warten Sie 15 Sekunden.
Automatisches Abtauen
Das Gerät führt automatische Abtauvorgänge durch.
Hinweis: Die Abtau-Zeitschaltung beginnt mit der ersten Inbetriebnahme des Gerätes.
Manuelles Abtauen:
Drücken und halten Sie die Abtau-Taste 5 Sekunden lang.
Der Abtauvorgang beginnt umgehend und die Abtauungs-LED leuchtet auf.

Table of Contents

Related product manuals