EasyManua.ls Logo

Coopers 9082 - Operational Checks; Checking Oil Supply Function; Adjusting the Carburetor

Default Icon
28 pages
Print Icon
To Next Page IconTo Next Page
To Next Page IconTo Next Page
To Previous Page IconTo Previous Page
To Previous Page IconTo Previous Page
Loading...
15
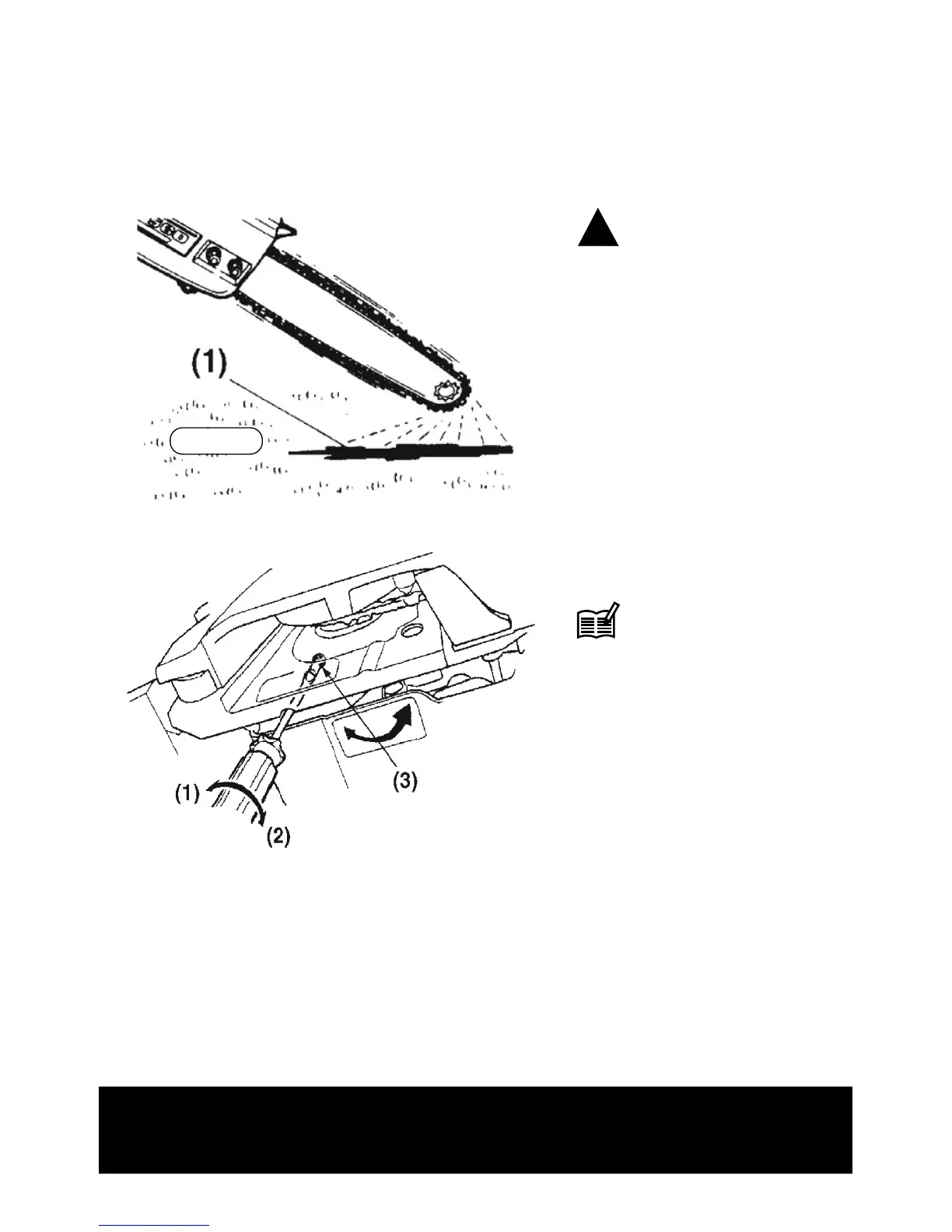
CHECKING THE OIL SUPPLY
Warning
Make sure the bar and the chain are set
up when checking the oil supply. If not,
the rotating parts may be exposed and
this is very dangerous. After starting the
engine, run the chain at medium speed
and see if chain oil is scattered off as
shown (F10).
The chain oil flow can be changed by
inserting a screwdriver in the hole on
bottom of the clutch side. Adjust
according to your work conditions (F11).
(1) Heavy flow
(2) Light flow
(3) Chain oil flow adjusting hole
Note
The oil tank should become nearly
empty by the time fuel is used up. Be
sure to refill the oil tank every time
when refueling the chainsaw.
ADJUSTING THE CARBURETOR (F12)
The carburetor on your unit has been
factory adjusted but may require fine
tuning due to a change in operating
conditions. Before adjusting the
carburetor, make sure that the provided
air/fuel filters are clean and fresh and
the fuel properly mixed.
Operation
!
(F10)
(F11)
(1) Chain oil