EasyManua.ls Logo

Courtyard HYPH4601-7 - Page 6

Default Icon
41 pages
Print Icon
To Next Page IconTo Next Page
To Next Page IconTo Next Page
To Previous Page IconTo Previous Page
To Previous Page IconTo Previous Page
Loading...
BB
G
A
G
DD
J
G
B
Bond Manufacturing Co., Inc. | Page 6
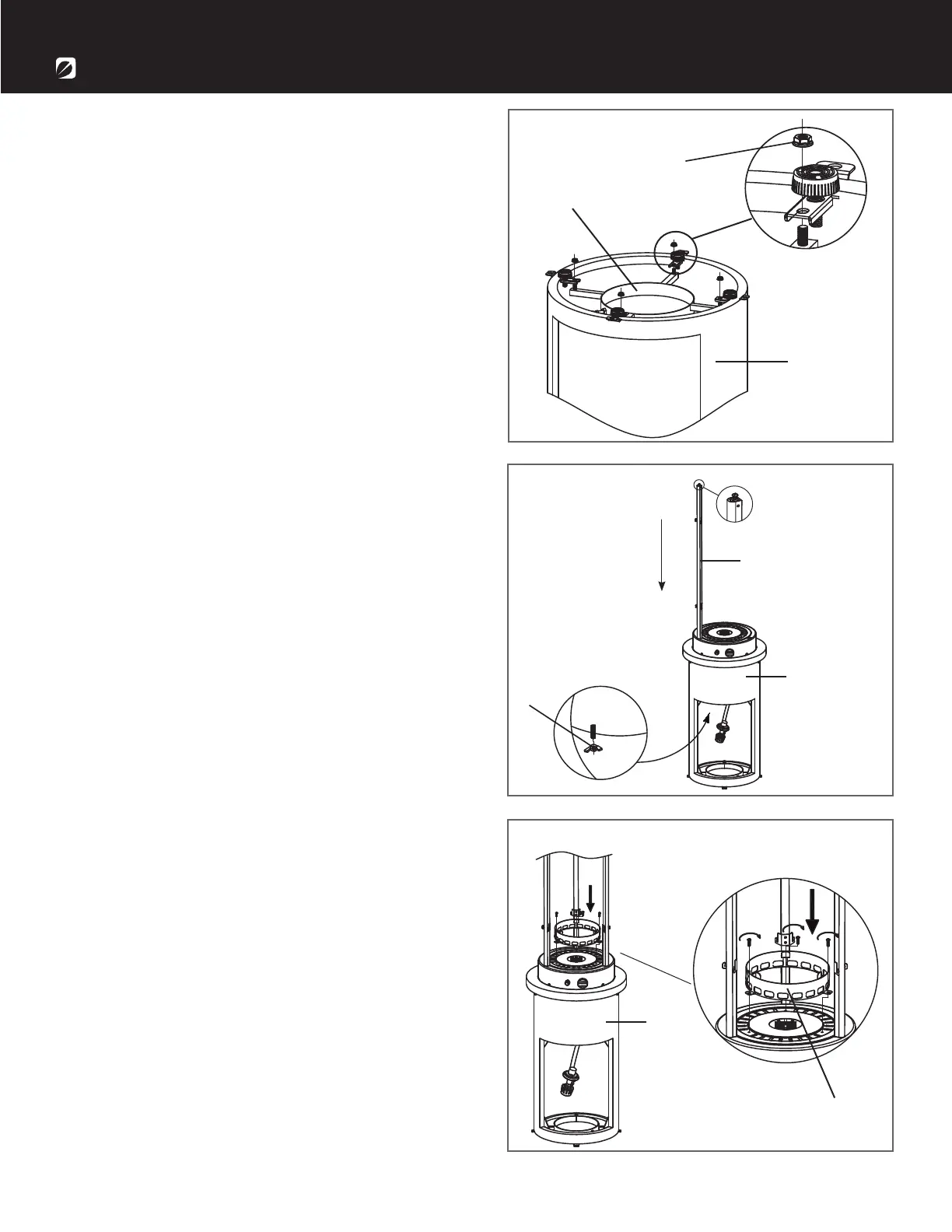
ASSEMBLY INSTRUCTIONS
2. Slide the 3 upper supporters (J) into the slots
in the burner at the top of the body (G). Be sure
that they are fully inserted. Tighten the upper
supporters (J) with 3 M5 wing nuts (DD).
Note: Be sure that the hook on the upper
supporter is upwards.
3. Remove the 3 preassembled screws from the
burner at the top of the body (G). Attach the glass
tube ring (B) to the top of the burner using the 3
preassembled screws you just removed.
1. Flip the body (G) upside down on a protected
surface. Remove the glass tube (H).
Attach the tank supporter (A) to the bottom of the
body (G) using 4 M6 nuts (BB). Flip the body (G) over.
Note: Make sure the wing nut on the tank
supporter (A) faces the door on the body (G).