EasyManua.ls Logo

Cover Pools T3 Evo - Cubrir Manualmente la Piscina; Descubrir Manualmente la Piscina; Emergencia; Sección 12. Procedimientos en Caso de

Cover Pools T3 Evo
62 pages
Print Icon
To Next Page IconTo Next Page
To Next Page IconTo Next Page
To Previous Page IconTo Previous Page
To Previous Page IconTo Previous Page
Loading...
Página 58
ESPAÑOL Cubierta automática para piscina Cover-Pools
®
T3 Evo
| Manual del propietario
Sección 12. Procedimientos en caso
de emergencia
NOTA: Para cubrir o descubrir la piscina manualmente,
hacen falta dos personas.
12.1 Cubrir manualmente la piscina
1. Retire el perno del acoplador (# 080027) o del
lado del motor del embrague deslizante, de
acuerdo con el equipo que tenga.
2. Tire algunos centímetros de la cuerda de los
carretes. Tire de las cuerdas de manera uniforme
a ambos lados hasta que la cubierta quede en su
lugar.
NOTA: Para efectuar este procedimiento, quizá deba
quitar la tapa y desenrollar un poco el tejido de
forma manual antes de tirar de la cubierta por los
rieles.
12.2 Descubrir manualmente la piscina
Hay dos maneras de descubrir manualmente la
piscina:
12.2.1 Enrollar en el tubo a mano
1. Retire la tapa si corresponde.
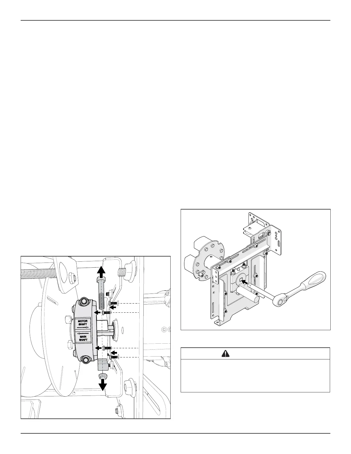
2. Quite el perno que atraviesa el eje del motor.
Extraiga los cuatro pernos que sujetan el motor.
Deslice el motor fuera del embrague.
Figura 7. Extracción de los pernos
3. Deslice la cubierta por los rieles en dirección al
rodillo unos pocos centímetros en ambos lados.
Luego, gire el rodillo a mano para enrollar la
cubierta.
4. Repita este procedimiento hasta que la cubierta
esté totalmente retraída y mantenga el rollo lo
más compacto posible. Para reducir cualquier
resistencia, suelte ambos frenos por completo.
12.2.2 Usar una llave de 1/2" en el orificio
cuadrado
1. Retire la tapa si corresponde.
2. Siga el procedimiento de la Sección12.1 para
quitar el perno de acoplamiento o el perno del
embrague y soltar los frenos.
3. El extremo opuesto del mecanismo tiene un
orificio cuadrado compatible con una llave de
trinquete estándar de ½".
Inserte la llave en el orificio cuadrado. Luego, use
la llave para girar el tubo principal en la dirección
que corresponda a la apertura de la cubierta.
Figura 8. Orificio cuadrado en el extremo opuesto
ADVERTENCIA
Es más fácil abrir la cubierta con la llave de trinquete que cerrarla.
Para cerrar la cubierta a mano, hacen falta dos personas fuertes. Si
usa la cubierta como barrera de seguridad, asegúrese de que podrá
cerrarla (si es necesario) antes de decidir abrirla.

Table of Contents