EasyManua.ls Logo

Craig CTFT716n - Location of Controls - Remote; Remote Control Buttons

Craig CTFT716n
21 pages
Print Icon
To Next Page IconTo Next Page
To Next Page IconTo Next Page
To Previous Page IconTo Previous Page
To Previous Page IconTo Previous Page
Loading...
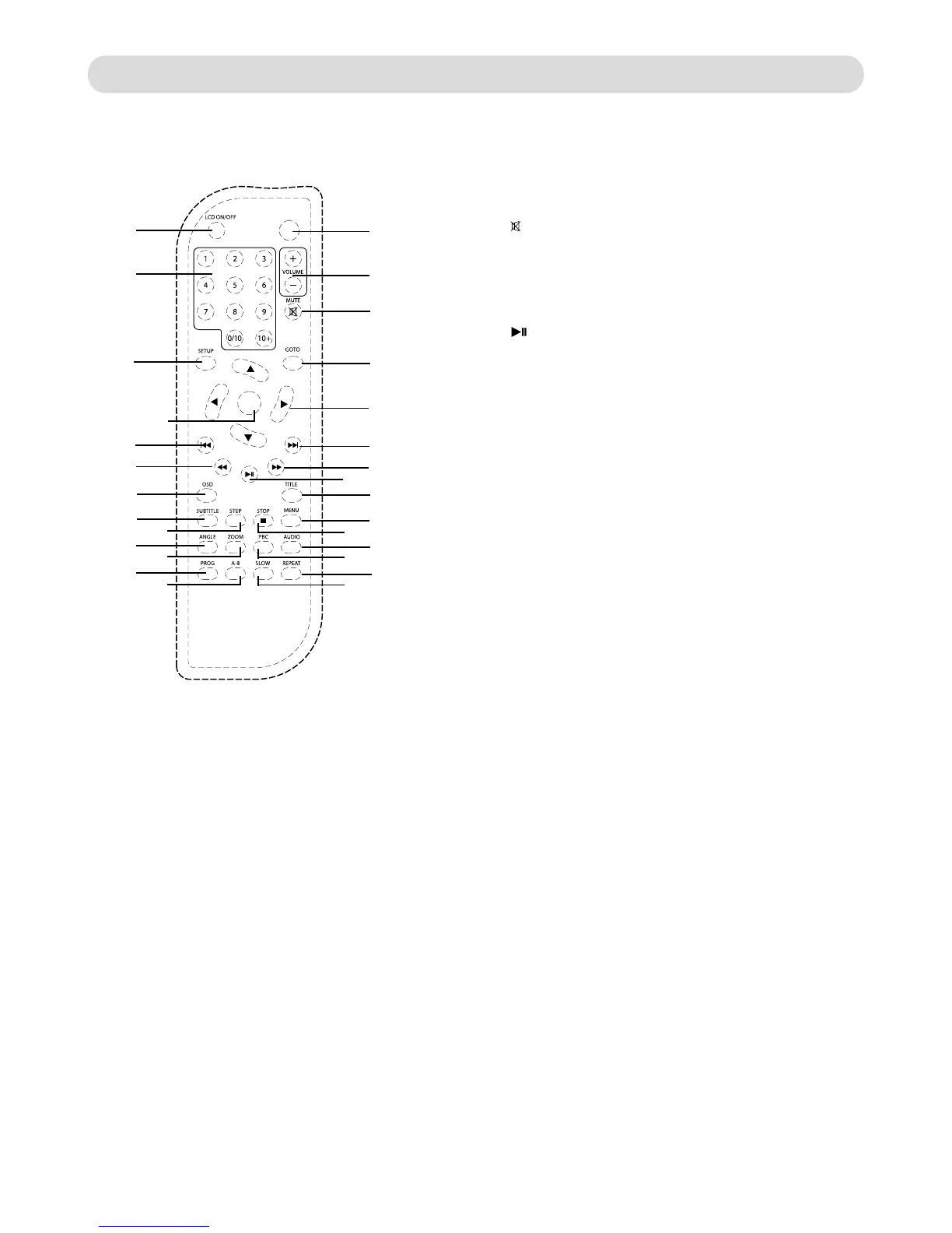
LOCATION OF CONTROLS
REMOTE CONTROL
1
2
3
4
5
6
7
8
9
10
11
12
13
14
15
POWER
16
17
18
19
20
21
22
23
24
25
26
27
28
1. POWER Button
2. VOLUME +/– Buttons
4. GOTO Button
ŻŻ
7.
ǿŻŻ
6. Button
12.
15. SLOW Button
Button
16. LCD ON/OFF Button
17. Numeric Buttons
18. SETUP Button
19. Button
ǿŻŻ
20. Button
ŻŻ
21. OSD (On Screen Display Button
22. SUBTITLE Button
23. ANGLE Button
24. PROG (Program Button
26. STEP Button
27. ZOOM Button
28. A-B Repeat Button
9.
MENU Button
8.
TITLE Button
10.
AUDIO Button
REPEAT Button
13.
11.
(
14.
PBC Button
-8-
OK
25. Button
3. MUTE Button
5. Direction Buttons
( Play/Pause Button

6723 %XWWRQ

ENTER
Ŷ

Related product manuals