EasyManua.ls Logo

Crane 14498 - Page 17

Crane 14498
34 pages
Print Icon
To Next Page IconTo Next Page
To Next Page IconTo Next Page
To Previous Page IconTo Previous Page
To Previous Page IconTo Previous Page
Loading...
service@actionspares.com.au
MODEL: S002391 PRODUCT CODE: 14498 06/2020
AFTER SALES SUPPORT
1800 465 070
17
Assembly Instructions (cont)
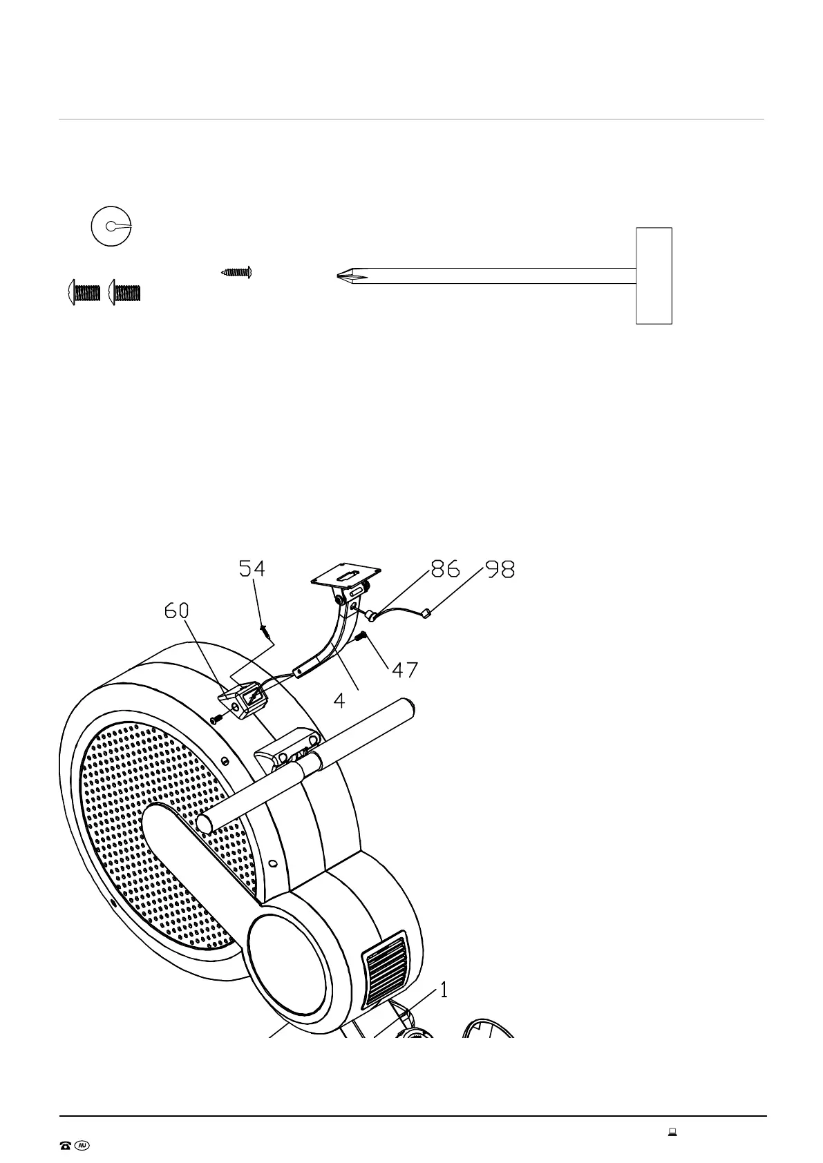
Step 6
(54) M4*16 self tapping
screw - 1pc
(47) M6*16 round cross
head screw - 2pcs
(86) wire plug-1pc
Route the Console wire (98) out of the Main frame (1) housing, through the Console post (4).
Pull the wire out of the post hole as shown in drawing. Attach the Wire plug (86) into the hole.
Insert Console post (4) into the Console post base (60).
Use M6*16 screw (47) to lock it from both sides.
Finally use M4*16 self tapping screw (54) to lock it.
Spanner screw driver

Related product manuals