EasyManua.ls Logo

Creda HB48283 - Page 33

Creda HB48283
36 pages
Print Icon
To Next Page IconTo Next Page
To Next Page IconTo Next Page
To Previous Page IconTo Previous Page
To Previous Page IconTo Previous Page
Loading...
33
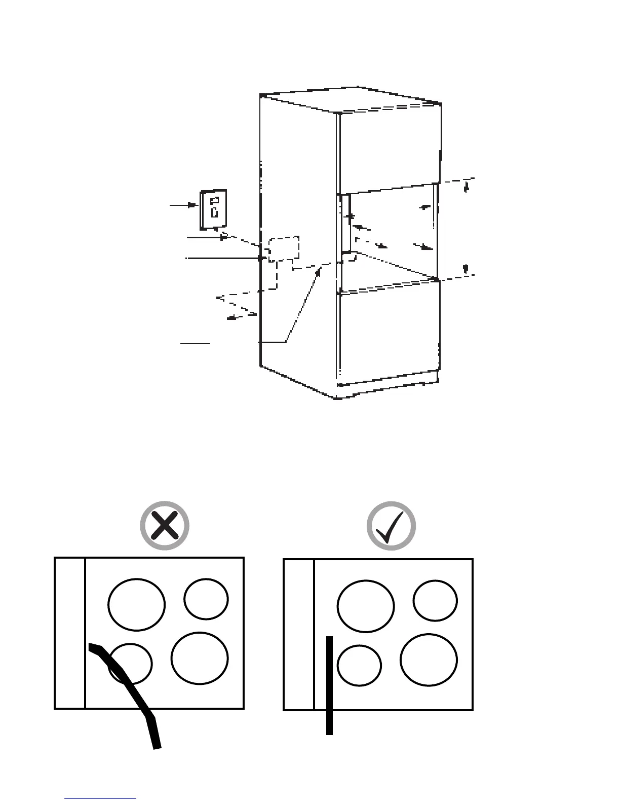
INSTALLATION INSTRUCTIONS
Double Pole
Control Switch
Single Oven
in tall
Cabinet
585mm max
575mm if cooker
trim is to
overlap
top edge
of shelf
*excluding pipes
and other
projections
6mm
2
Cable if Hotplate
fitted
Conduit Box
4mm
2
Cable if hob fitted
adjacent to oven
4mm
2
Cable
to Oven
Refer to Electrical Installation
560mm min
574mm max
*550mm
Fig. 4
Fig. 5

Related product manuals