EasyManua.ls Logo

Crown SZ-5000 - Exploded View

Crown SZ-5000
34 pages
Print Icon
To Next Page IconTo Next Page
To Next Page IconTo Next Page
To Previous Page IconTo Previous Page
To Previous Page IconTo Previous Page
Loading...
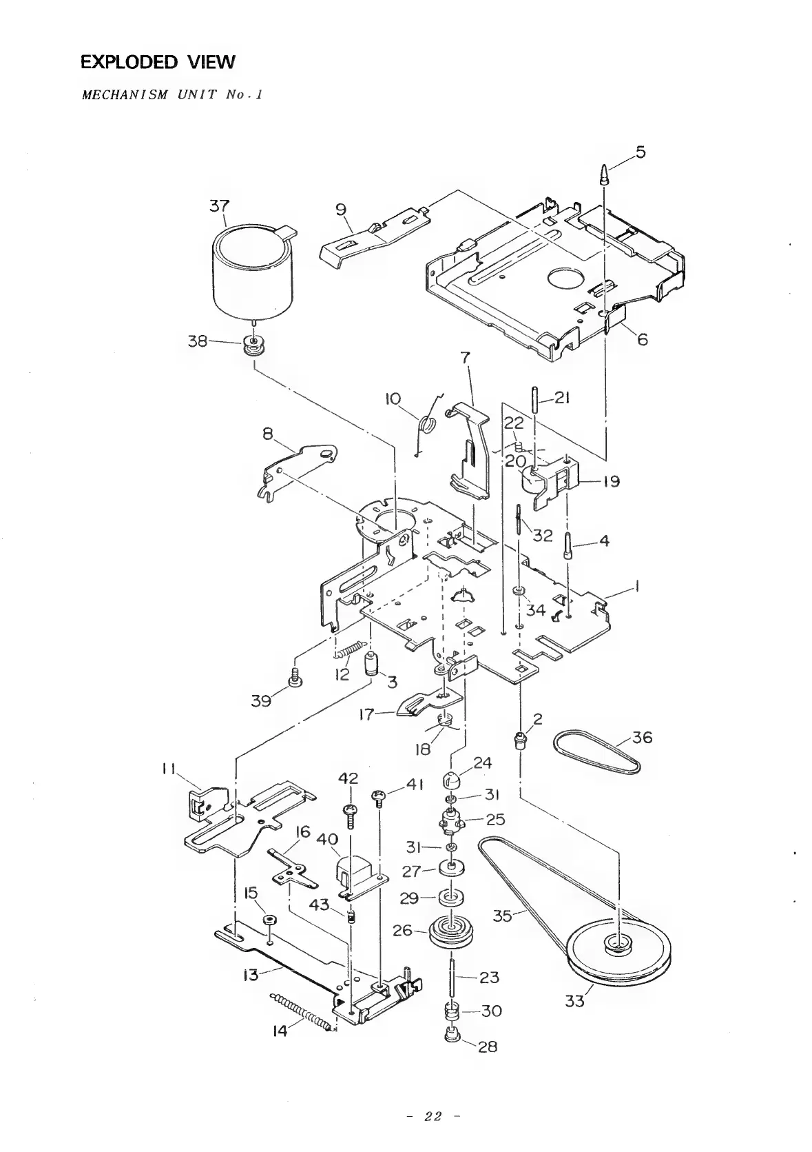
EXPLODED
VIEW
MECHANISM
UNIT
No.1