EasyManua.ls Logo

CTX EX951F - 9 IC Block Diagrams

CTX EX951F
53 pages
Print Icon
To Next Page IconTo Next Page
To Next Page IconTo Next Page
To Previous Page IconTo Previous Page
To Previous Page IconTo Previous Page
Loading...
45
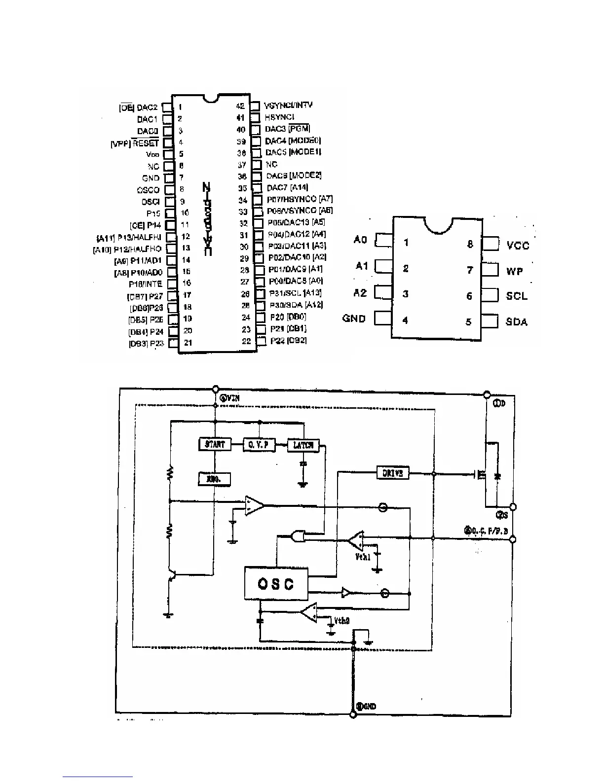
9. IC BLOCK DIAGRAM
IC101:NT68F65U IC102:24C08
IC901:STR-G9656D

Related product manuals