EasyManua.ls Logo

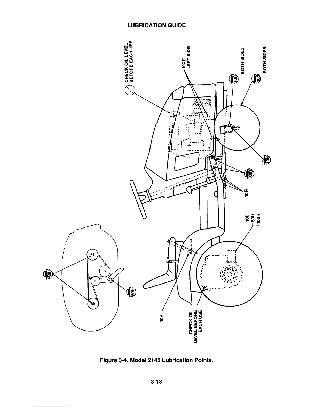
Cub Cadet 2135 - Model 2145 Lubrication Points Diagram

Cub Cadet 2135
256 pages
Print Icon
To Next Page IconTo Next Page
To Next Page IconTo Next Page
To Previous Page IconTo Previous Page
To Previous Page IconTo Previous Page
Loading...

Table of Contents

Other manuals for Cub Cadet 2135

Related product manuals