EasyManua.ls Logo

Cub Cadet Yanmar Lx450 - Main Change Shift Assembly

Cub Cadet Yanmar Lx450
226 pages
To Next Page IconTo Next Page
To Next Page IconTo Next Page
To Previous Page IconTo Previous Page
To Previous Page IconTo Previous Page
Loading...
Lx450Lx Series
108
Copyright 2011 Cub Cadet Yanmar LLC
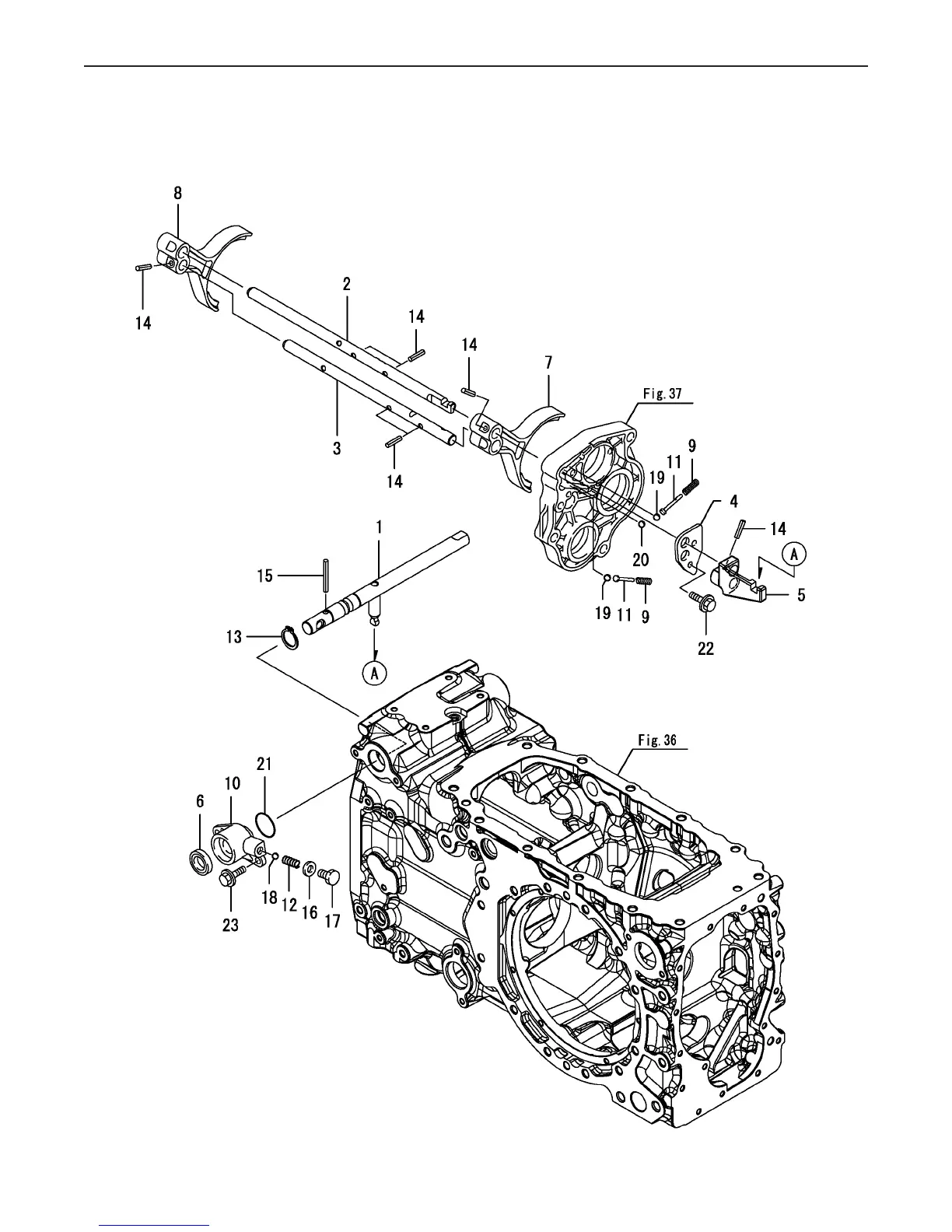
Fig 51. Main Change Shift
Fig.51. MAIN CHANGE SHIFT
0CNP5-G37900
0CNP5-G37900
51. MAIN CHANGE SHIFT
(F)=
(E)=
(D)=
(C)=LX490
(B)=LX450
(A)=LX410
LEV.REF. PARTS NO. DESCRIPTION
RI
Q'TY
(F)(D)(C)(B)(A) (E)
A
RM, MAIN SHIFT1A8275-2715011 111
SHAFT, FORK 3-41A8275-2725012 111
SHAFT, FORK 1-21A8275-2726013 111
PLATE, FORK LOCK198212-2728014 111
SHIFTER, MAIN SHIFT1A8275-2733015 111
SEAL TC4 203507198212-2735016 111
FORK, MAIN SHIFT 3-4198212-2737117 111
FORK, MAIN SHIFT 1-R198218-2738118 111
SPRING194145-2745019 222
HOLDER, SHIFT ARM198212-27470-1110 111
PIN 4X35,FLAT HEAD.198071-27860111 222
SPRING 231E6210-54920112 111
CIRCLIP 2022242-000200113 111
SPRING PIN 6X2522351-060025114 777
SPRING PIN 6X5022351-060050115 111
GASKET 10, ROUND23414-100000116 111
PLUG 1023887-100002117 111
BALL 5/16, STEEL24190-100001118 111
BALL 5/16, STEEL24190-100001119 222
BALL 5/16, STEEL24190-100001120 111
O-RING G3024321-000300121 111
BOLT M 8X 16 PLATED26106-080162122 222
BOLT M 8X 20 PLATED26106-080202123 222
(C)Copy Rights YANMAR CO.,LTD.

Related product manuals