EasyManua.ls Logo

Cub Cadet Yanmar Lx450 - Extra Hitch Kit

Cub Cadet Yanmar Lx450
226 pages
To Next Page IconTo Next Page
To Next Page IconTo Next Page
To Previous Page IconTo Previous Page
To Previous Page IconTo Previous Page
Loading...
Lx450Lx Series
Ref.
Part Number Description Qty
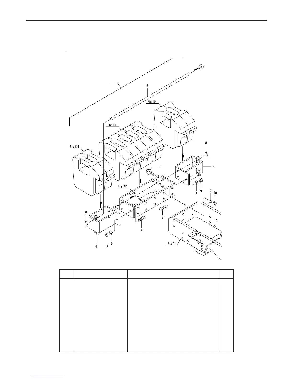
1 CY-1A8160-11900 HITCH KIT, FRONT 1
2 CY-198220-11350 PIN,WEIGHT LOCK 1
3 CY-198220-11520 BOLT 12X38 6
4 CY-198220-11900 HITCH, EXTRA FRONT 2
5 CY-194274-13580 SPRING WASHER 12 6
6 CY-194274-13580 SPRING WASHER 12 6
7 CY-194465-13650 BOLT M12X32 6
8 CY-22372-160000 SNAP PIN 16 2
9 CY-26716-120002 NUT 12 6
10 CY-26716-120002 NUT 12 6
Copyright 2011 Cub Cadet Yanmar LLC
219
Fig 135. Extra Hitch
Fig.135. EXTRA HITCH
0CNP5-G37900
0CNP5-G37900
135. EXTRA HITCH
(F)=
(E)=
(D)=
(C)=LX490
(B)=LX450
(A)=LX410
LEV.REF. PARTS NO. DESCRIPTION
RI
Q'TY
(F)(D)(C)(B)(A) (E)
HITCH KIT, FRONT1A8160-1190011 111
PIN,WEIGHT LOCK198220-1135022 111
BOLT 12X38198220-1152023 666
HITCH, EXTRA FRONT198220-1190024 222
SPRING WASHER 12194274-1358025 666
SPRING WASHER 12194274-1358026 666
BOLT M12X32194465-1365027 666
SNAP PIN 1622372-16000028 222
NUT 1226716-12000229 666
NUT 1226716-120002210 666
(C)Copy Rights YANMAR CO.,LTD.

Related product manuals