EasyManua.ls Logo

Cub Cadet Yanmar Lx490 - Page 201

Cub Cadet Yanmar Lx490
230 pages
Print Icon
To Next Page IconTo Next Page
To Next Page IconTo Next Page
To Previous Page IconTo Previous Page
To Previous Page IconTo Previous Page
Loading...
Lx490Lx Series
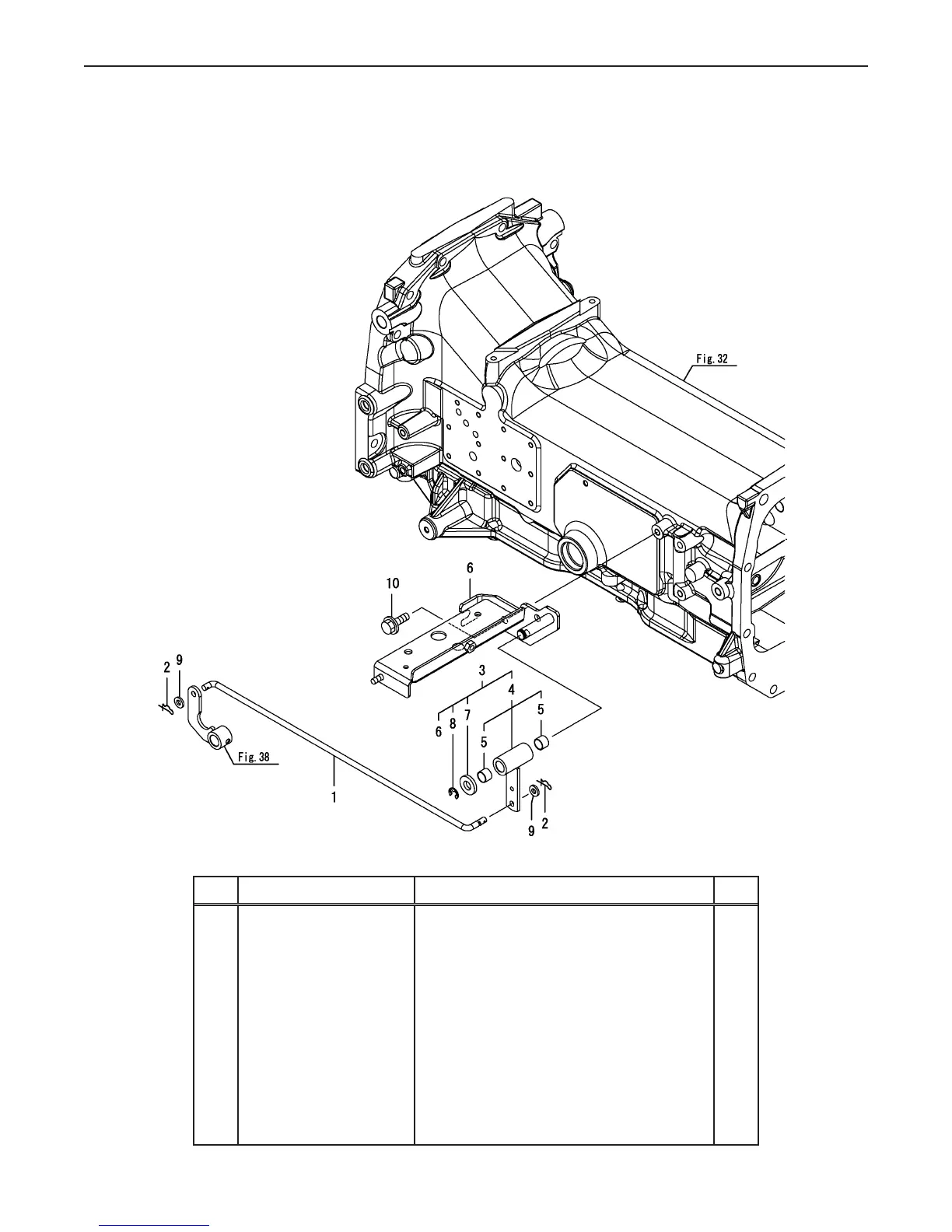
Ref.
Part Number Description Qty
1 CY-1A8240-18510 ROD, REVERSER 1
2 CY-1C6281-52320 PIN 8,COME-OFF SNAP 2
3 CY-1A8240-62600 SUPPORT UNIT, REAR L 1
4 CY-1A8240-18400 LINK, REVERSER ASSY 1
5 CY-24550-015120 BUSH 15X12 2
6 CY-1A8240-62650 SUPPORT ASSY, REAR L 1
7 CY-22137-140000 WASHER 14,POLISHED 1
8 CY-22272-000120 CIRCLIP E-12 1
9 CY-22137-080000 WASHER 8, POLISHED 2
10 CY-26106-100202 BOLT M10X 20 PLATED 2
Copyright 2011 Cub Cadet Yanmar LLC
201
Fig 117. Step Stay 2
Fig.117. STEP STAY(2
0CNP5-G37900
0CNP5-G37900
117. STEP STAY(2
(F)=
(E)=
(D)=
(C)=LX490
(B)=LX450
(A)=LX410
LEV.REF. PARTS NO. DESCRIPTION
RI
Q'TY
(F)(D)(C)(B)(A) (E)
ROD, REVERSER1A8240-1851011 111
PIN 8,COME-OFF SNAP1C6281-5232012 222
SUPPORT UNIT, REAR L1A8240-6260013 111
LINK, REVERSER ASSY1A8240-1840024 111
BUSH 15X1224550-01512035 222
SUPPORT ASSY, REAR L1A8240-6265026 111
WASHER 14,POLISHED22137-14000027 111
CIRCLIP E-1222272-00012028 111
WASHER 8, POLISHED22137-08000019 222
BOLT M10X 20 PLATED26106-100202110 222
(C)Copy Rights YANMAR CO.,LTD.

Related product manuals