EasyManua.ls Logo

Cub Cadet Yanmar Lx490 - Page 200

Cub Cadet Yanmar Lx490
230 pages
Print Icon
To Next Page IconTo Next Page
To Next Page IconTo Next Page
To Previous Page IconTo Previous Page
To Previous Page IconTo Previous Page
Loading...
Lx490Lx Series
200
Copyright 2011 Cub Cadet Yanmar LLC
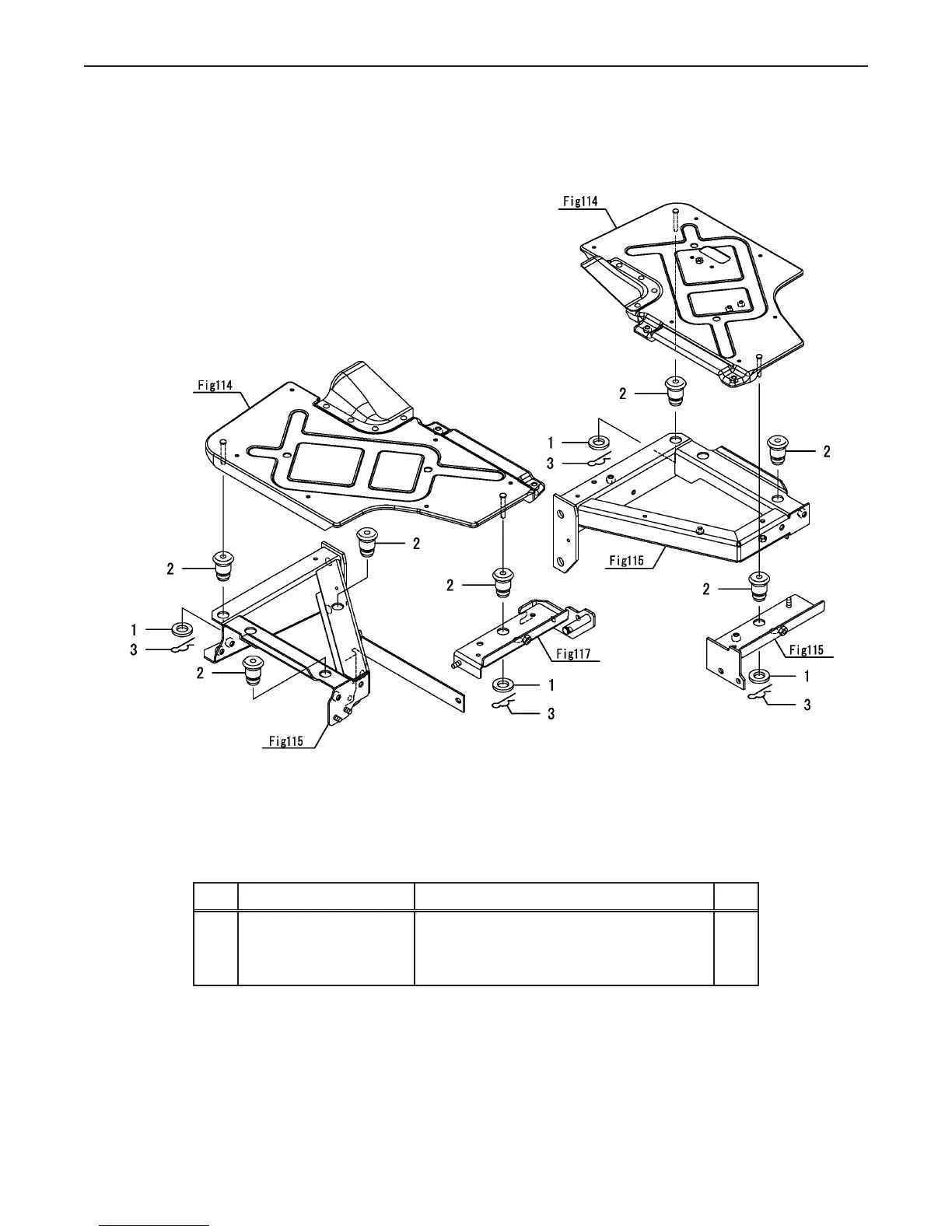
Fig 116. Insulator
Ref.
Part Number Description Qty
1 CY-198220-62150 WASHER 4
2 CY-198240-62451 RUBBER,STEP VIBPRF. 7
3 CY-22372-080000 SNAP PIN (JASO 8) 4
Fig.116. INSULATOR
0CNP5-G37900
0CNP5-G37900
116. INSULATOR
(F)=
(E)=
(D)=
(C)=LX490
(B)=LX450
(A)=LX410
LEV.REF. PARTS NO. DESCRIPTION
RI
Q'TY
(F)(D)(C)(B)(A) (E)
WASHER198220-6215011 444
RUBBER,STEP VIBPRF.198240-6245112 777
SNAP PIN (JASO 8)22372-08000013 444
(C)Copy Rights YANMAR CO.,LTD.

Related product manuals