EasyManua.ls Logo

Cub Cadet Yanmar Lx490 - Page 47

Cub Cadet Yanmar Lx490
230 pages
Print Icon
To Next Page IconTo Next Page
To Next Page IconTo Next Page
To Previous Page IconTo Previous Page
To Previous Page IconTo Previous Page
Loading...
Lx490Lx Series
Copyright 2011 Cub Cadet Yanmar LLC
47
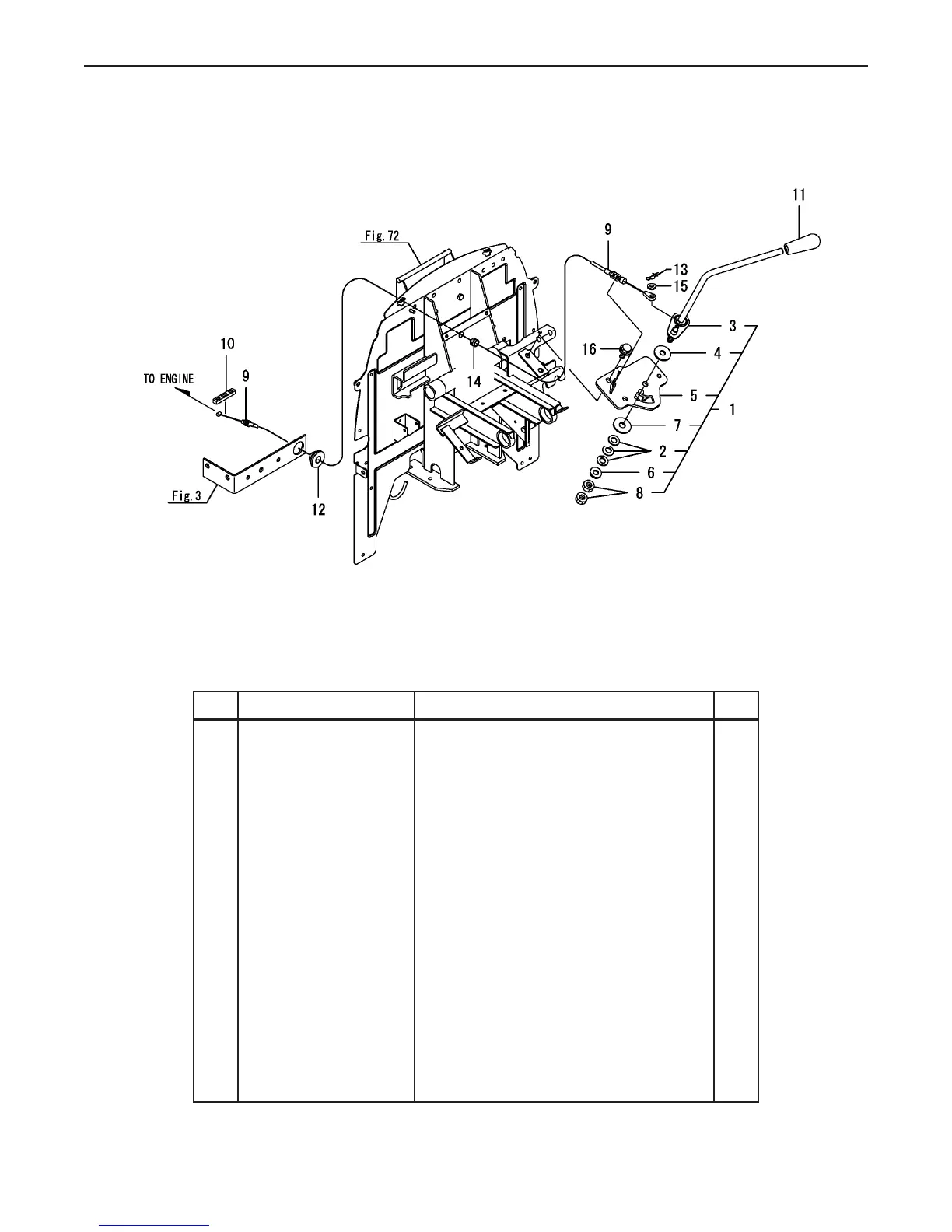
Fig 6. Accelerator Lever
Fig.6. ACCEL LEVER
0CNP5-G37900
0CNP5-G37900
6. ACCEL LEVER
(F)=
(E)=
(D)=
(C)=LX490
(B)=LX450
(A)=LX410
LEV.REF. PARTS NO. DESCRIPTION
RI
Q'TY
(F)(D)(C)(B)(A) (E)
LEVER ASSY, ACCEL1A8250-0110011 111
WASHER 10, CONICAL194740-0016022 333
LEVER, ACCEL1A8250-0111023 111
PLATE, FRICTION198200-0126024 111
SUPPORT ASSY, ACCEL1A8250-0215025 111
WASHER 10,POLISHED22137-10000026 111
WASHER 1022157-10000027 111
NUT 1026716-10000228 222
CABLE ASSY, HAND1A8250-0115019 111
RUBBER,WIRE RETAING198071-01160110 111
KNOB, THROTTLE LEVER198253-01190111 111
GROMMET 25194170-51210112 111
PIN 6,COME-OFF SNAP1C6281-52310113 111
GROMMET 8198071-58810114 111
WASHER 6, POLISHED22137-060000115 111
BOLT M 8X 16 PLATED26106-080162116 222
(C)Copy Rights YANMAR CO.,LTD.
Ref.
Part Number Description Qty
1 CY-1A8250-01100 LEVER ASSY, ACCEL 1
2 CY-194740-00160 WASHER 10, CONICAL 3
3 C Y-1A 82 50 - 01110 LEVER, ACCEL 1
4 CY-198200- 01260 PLATE, FRICTION 1
5 CY-1A8250-02150 SUPPORT ASSY, ACCEL 1
6 CY-22137-100000 WASHER 10,POLISHED 1
7 CY-22157-100000 WASHER 10 1
8 CY-26716-100002 NUT 10 2
9 CY-1A8250-01150 CABLE ASSY, HAND 1
10 CY-198071-01160 RUBBER,WIRE RETAING 1
11 CY-198253-01190 KNOB, THROTTLE LEVER 1
12 CY-198245-51210 GROMMET 25 1
13 CY-1C6281-52310 PIN 6,COME-OFF SNAP 1
14 CY-198071-58810 GROMMET 8 1
15 CY-22137-060000 WASHER 6, POLISHED 1
16 CY-26106-080162 BOLT M 8X 16 PLATED 2

Related product manuals