EasyManua.ls Logo

Dacor Preference SGM365 - Wiring Diagrams

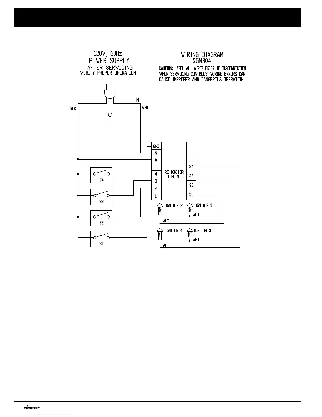
Dacor Preference SGM365
16 pages
Print Icon
To Next Page IconTo Next Page
To Next Page IconTo Next Page
To Previous Page IconTo Previous Page
To Previous Page IconTo Previous Page
Loading...
10
WIr I n g DI a g r a m s

Related product manuals