EasyManua.ls Logo

Daewoo DE12TIS - Page 94

Daewoo DE12TIS
188 pages
Print Icon
To Next Page IconTo Next Page
To Next Page IconTo Next Page
To Previous Page IconTo Previous Page
To Previous Page IconTo Previous Page
Loading...
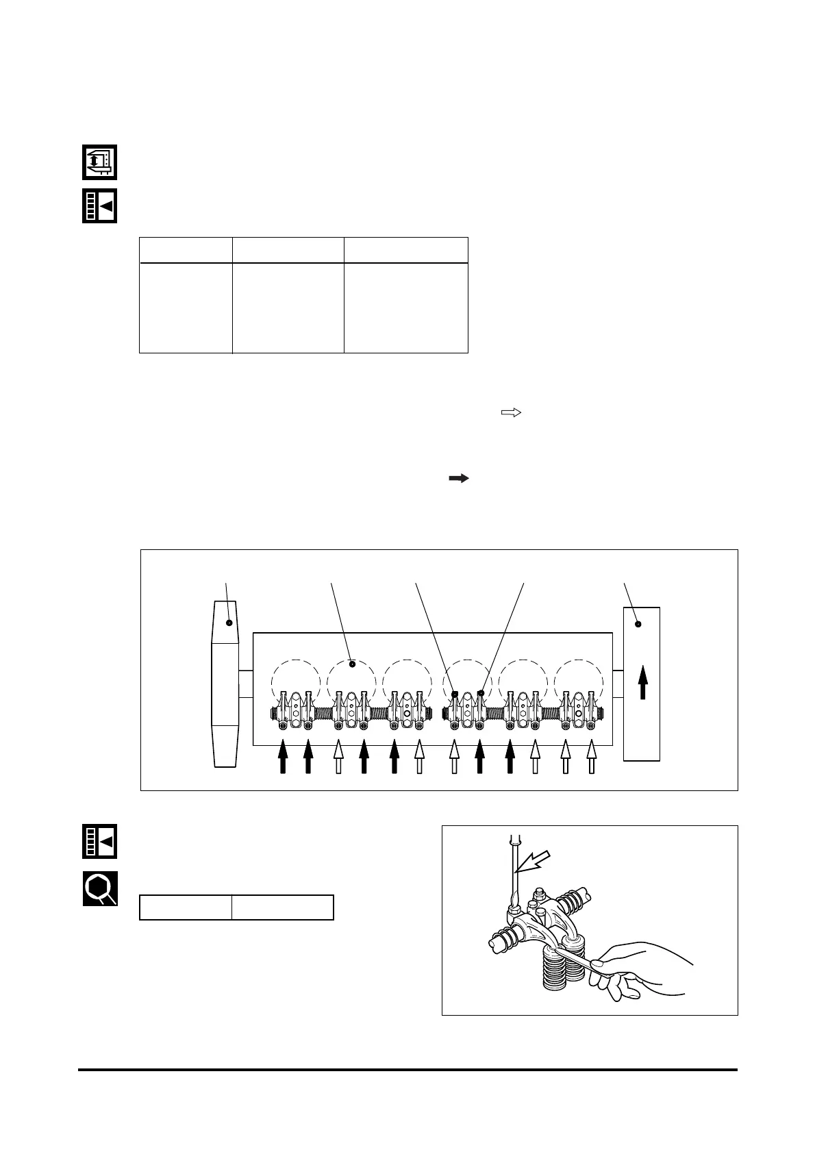
<Guide for valve clearance adjustment>
After letting the #1 cylinders piston come at the compression top dead center by turning the
crankshaft, adjust the valve clearances.
Loosen the lock nuts of rocker arm adjusting screws and push the feeler gauge of specified
value between a rocker arm and a valve stem and adjust the clearance with adjusting screw
respectively and then tighten with the lock nut.
As for the valve clearance, adjust it when in cold, as follow.
- By cranking the engine, let #6 cylinders valves overlap.
- In time, adjust the valve clearance corresponding to ““ of lower figure.
- Rotating the crankshaft by one revolution, #6 cylinder become the compression state of top
dead center.
- Adjust the valve clearance corresponding to ““ of lower figure.
- After reinsuring the valve clearances, retighten if necessary.
No. 1 Cylinder is located at the side where flywheel was installed.
Adjust valve clearance with a feeler
gauge and tighten the fixing nuts to
specified torque.
- 90 -
REASSEMBLY
Model
DE12T
DE12TI
DE12TIA
DE12TIS
0.3 mm 0.3 mm
Intake Valve Exhaust Valve
123456
EA8O6001
Cooling Fan Cylinder No. Exhaust Valve Intake Valve Flywheel
EA8M3007
Valve clearance adjust
Torque 4.4 kg
.
m

Table of Contents

Other manuals for Daewoo DE12TIS

Related product manuals