EasyManua.ls Logo

Daewoo DWF-111W - Automatic Unbalance Adjustment; Circulating Water and Lint Filter System

Daewoo DWF-111W
43 pages
Print Icon
To Next Page IconTo Next Page
To Next Page IconTo Next Page
To Previous Page IconTo Previous Page
To Previous Page IconTo Previous Page
Loading...
9
FEATURE
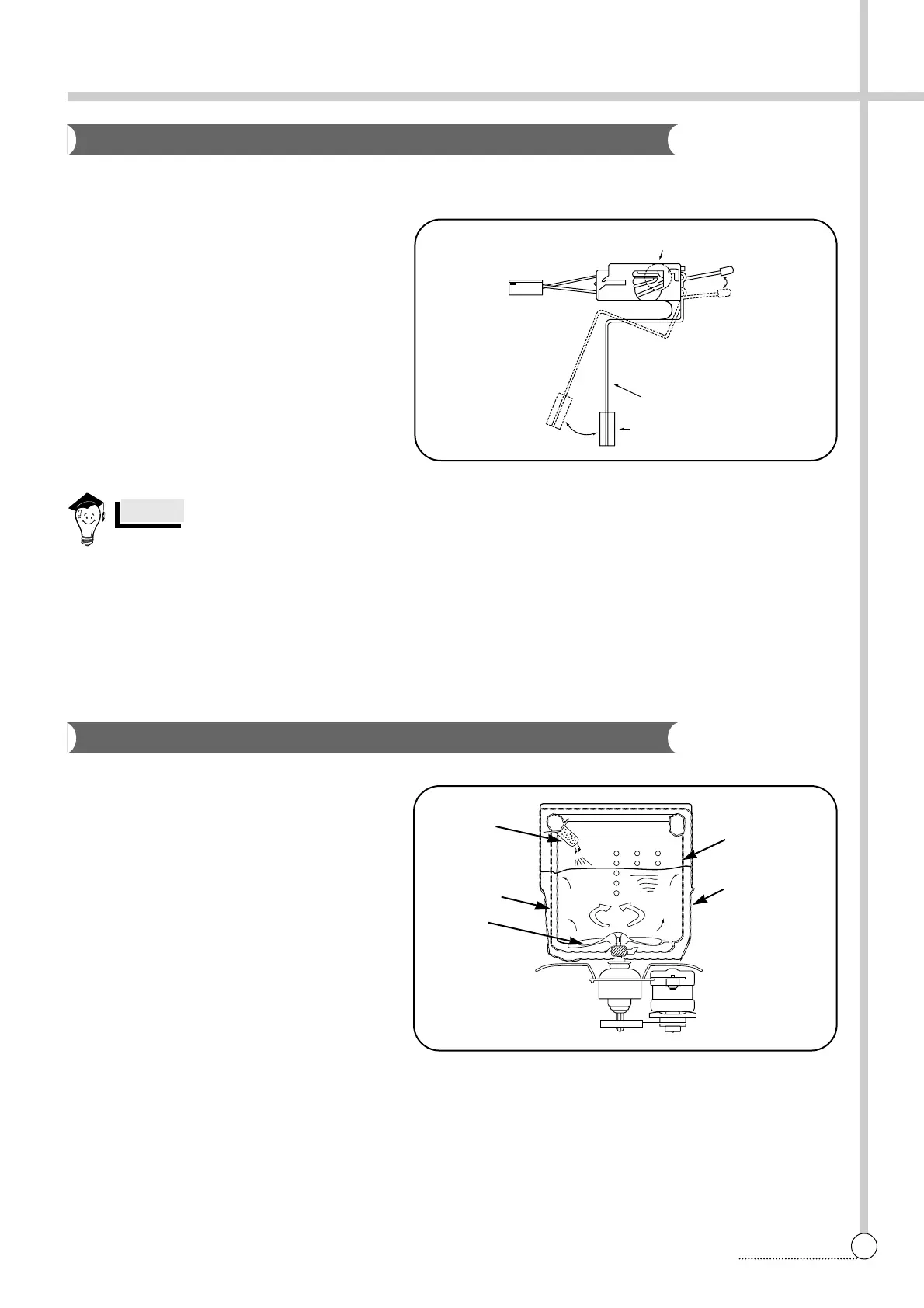
Contact of safety switch Lid closing
Lid opening
Contact lever A
Normal (ON)
Position of
unbalanced load (OFF)
Automatic Unbalance Adjustment
Circulating-Water Course and Lint Filter
The alarm finished when you close the lid after opening
it. Check the unbalance of the wash load and the instal-
lation condition.
NOTES
Filter
Tu b
Outer tub
Water
channel
Pulsator
This system is to prevent abnormal vibration during intermittent spin and spin process.
FUNCTIONAL PRINCIPLE
1 When the lid is closed, the safety switch
contact is “ON” position.
2 In case that wash loads get uneven during
spin, the outer tub hits the safety switch
due to the serious vibration, and the spin
process is interrupted.
3 In case that P.C.B. ASS’Y gets “OFF” signal
from the safety switch, spin process are
stopped and rinse process is started auto-
matically by P.C.B. ASS’Y.
4 If the safety switch is operated due to the
unbalance of the tub, the program is
stopped and the alarm is given.
CIRCULATING-WATER
The washing and rinsing effects have been
improved by adopting the water system in
which water in the tub is circulated in a
designed pattern.
When the pulsator rotates during the washing
or rinsing process, the water below the pul-
sator fans creates a water currents as shown in
figure.
The water is then discharged from the upper
part of the tub through the water channel.
About 40 L/min. water is circulated at the ‘high’
water level, standard wash load and standard
water currents.

Related product manuals