EasyManua.ls Logo

Daewoo DWF-165WD - Appendix; Wiring Diagram

Daewoo DWF-165WD
48 pages
Print Icon
To Next Page IconTo Next Page
To Next Page IconTo Next Page
To Previous Page IconTo Previous Page
To Previous Page IconTo Previous Page
Loading...
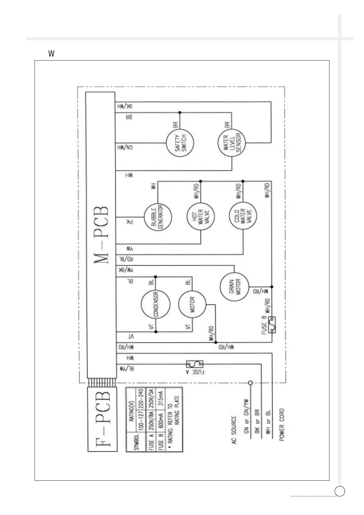
APPENDIX
33
WIRING DIAGRAM
§§
è
Wiring Diagram [non-pump]

Related product manuals