EasyManua.ls Logo

Daewoo DWF-241PW - APPENDIX; Wiring Diagram

Daewoo DWF-241PW
38 pages
Print Icon
To Next Page IconTo Next Page
To Next Page IconTo Next Page
To Previous Page IconTo Previous Page
To Previous Page IconTo Previous Page
Loading...
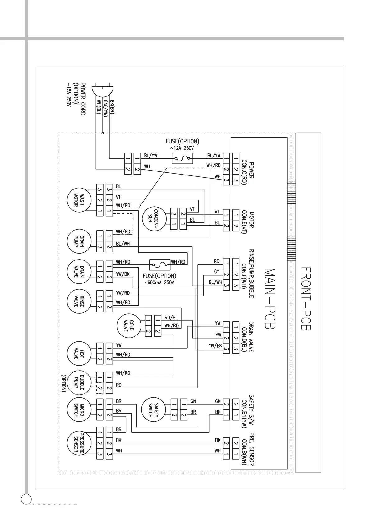
APPENDIX
28
PCB ASS’Y
Wiring Diagram

Related product manuals