EasyManua.ls Logo

Daewoo DWF-600M - Wiring Diagram [Non-Pump]

Daewoo DWF-600M
32 pages
Print Icon
To Next Page IconTo Next Page
To Next Page IconTo Next Page
To Previous Page IconTo Previous Page
To Previous Page IconTo Previous Page
Loading...
APPENDIX
19
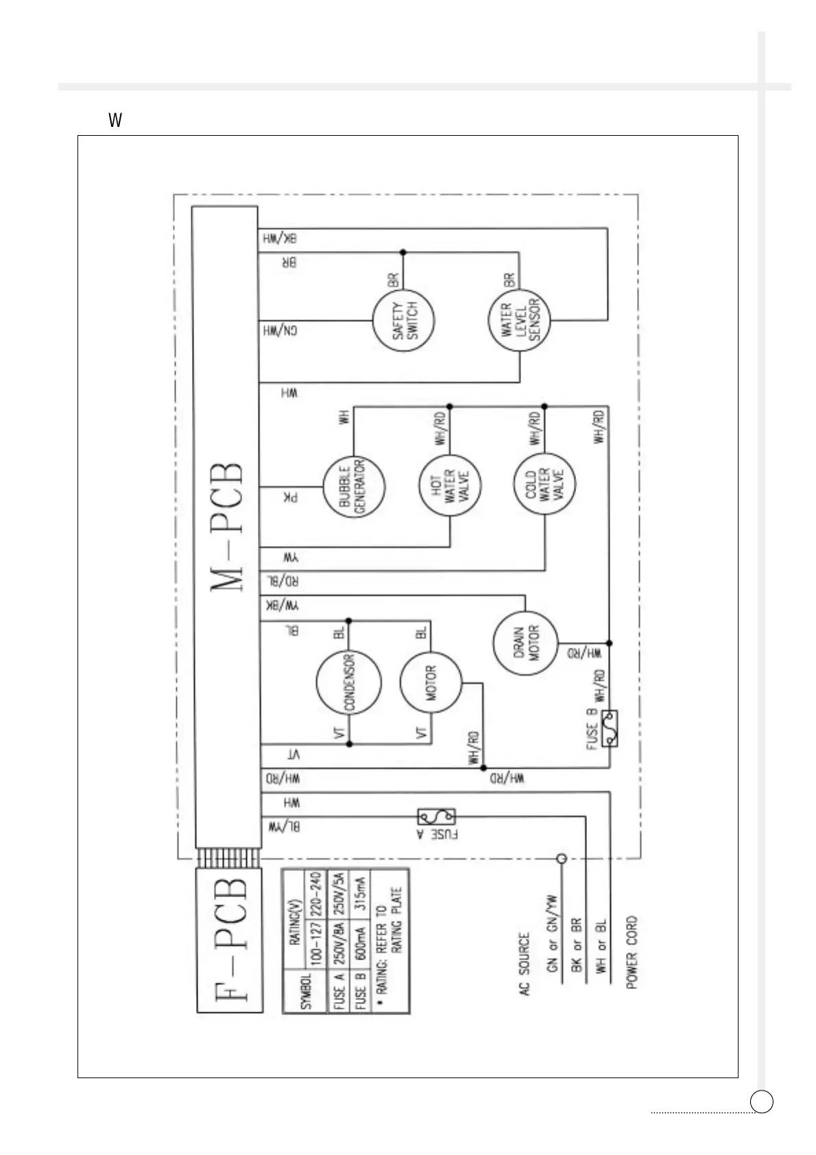
WIRING DIAGRAM
§§
è
Wiring Diagram [non-pump]

Related product manuals