EasyManua.ls Logo

Daewoo FR-3801 - 6. REFRIGERANT CYCLE DIAGRAM

Daewoo FR-3801
15 pages
Print Icon
To Next Page IconTo Next Page
To Next Page IconTo Next Page
To Previous Page IconTo Previous Page
To Previous Page IconTo Previous Page
Loading...
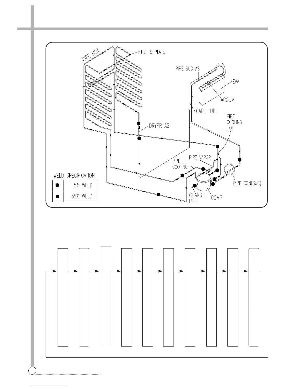
6. REFRIGERANT CYCLE DIAGRAM
8
REFRIGERANT CYCLE DIAGRAM
CYCLE
C
O
M
P
R
E
S
S
O
R
P
I
P
E
V
A
P
O
R
I
P
I
P
E
H
O
T
P
I
P
E
C
O
O
L
I
N
G
H
O
T
C
O
M
P
R
E
S
S
O
R
P
I
P
E
C
O
O
L
I
N
G
P
I
P
E
*
S
P
L
A
T
E
E
V
A
P
O
R
A
T
O
R
A
C
C
U
M
P
I
P
E
S
U
C
C
O
N
N

Other manuals for Daewoo FR-3801

Related product manuals