EasyManua.ls Logo

Daikin DST301BA61 - Operation; Setting Present Time

Daikin DST301BA61
16 pages
Print Icon
To Next Page IconTo Next Page
To Next Page IconTo Next Page
To Previous Page IconTo Previous Page
To Previous Page IconTo Previous Page
Loading...
5
OPERATION
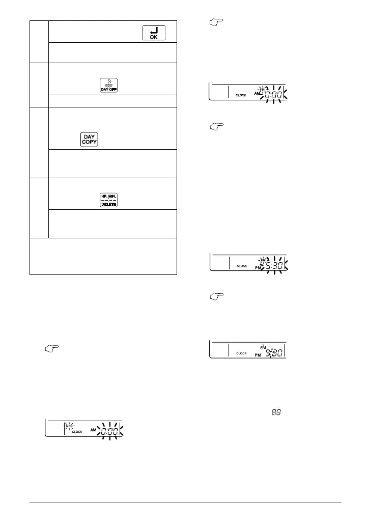
Setting present time (Fig. 3)
(Example) In case of setting Friday, 5:30
p.m.
1. Press the CLOCK ADJUSTING
BUTTON. The present time dis-
play flashes.
(NOTE)
The present time needs adjusting in case
of turning power supply on for the first
time or the occurrence of power failure
over the period of 48 hours or more.
2. Press the BUTTON FOR
SELECTING DAYS OF A WEEK.
Each time the button is pressed,
the day display shifts to the right.
(NOTE)
The display “ MON ” follows the display
“ SUN. ”
3. Set the time with the HOUR/
MINUTE BUTTON. Each time the
HOUR/MINUTE BUTTON is
pressed, the display is put forward
minute by minute and hour by
hour. When the button is kept
pressed, the display is put forward
continuously.
(NOTES)
After becoming “ AM 11:00 ”, when the
button is pressed, the display becomes
“ PM 0:00 ”.
After becoming “ 59 ” (minute), when the
button is pressed, the display becomes
“ 00 ” (minute).
4. Press the TIMER ON BUTTON
the moment the time signal of TV,
radio, telephone, etc. is heard.
The mark “ : ” flashes, and the
clock starts.
(NOTES)
The clock used is of 12-hour type.
When you turn power supply on, the sys-
tem may display “ ” for about one
minute and not start to operate after all the
liquid crystal displays appear at a time.
If the CLOCK ADJUSTING BUTTON is
pressed by mistake, press it again to
return to the original state. As the clock
does not stop, the time indicated by the
clock is kept correct. In case of power
failure within 48 hours, the clock keeps
operating by utilizing the built-in battery.
17
TIMER ON BUTTON “
Press this button to set the present
time and the programmed time.
18
HOLIDAY SETTING
BUTTON “
Press this button to set holidays.
19
BUTTON FOR COPYING
PROGRAM OF PREVIOUS
DAY “
Use this button to set the No. of pro-
grammed time same as that of the pre-
vious day.
20
PROGRAM CANCELING
BUTTON “
Use this button to set the programmed
time to cancel. The display shows
“ – ; – – ”.
(Note)
1. Please note that all the displays in the fig-
ure appear for explanation purpose or
when the cover is open.
1
2
Set the day to Friday.
3
Set the time to 5:30 p.m.
4
Press the TIMER ON BUTTON
in tune with the time signal at 5:30 p.m.
01_EN_3P124623-5C.fm Page 5 Wednesday, August 3, 2005 2:20 PM