EasyManua.ls Logo

Daikin FTKD60BVM - Page 274

Daikin FTKD60BVM
298 pages
Print Icon
To Next Page IconTo Next Page
To Next Page IconTo Next Page
To Previous Page IconTo Previous Page
To Previous Page IconTo Previous Page
Loading...
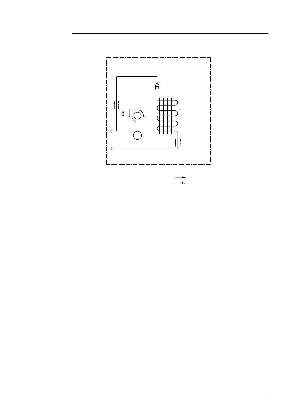
Si12-411A Piping Diagrams
Appendix 263
FTKD71BVM, FTK(X)D71BVMA
(
15.9CuT
)
FIELD PIPING
FIELD PIPING
(
9.5CuT
)
CROSS FLOW FAN
FAN MOTOR
(
7.9CuT
)
INDOOR UNIT
(
12.7CuT
)
M
HEAT EXCHANGER
REFRIGERANT FLOW
ON HEAT
EXCH.
THERMISTOR
COOLING
HEATING
4D040083F

Table of Contents

Other manuals for Daikin FTKD60BVM

Related product manuals