EasyManua.ls Logo

Daikin FTKD60BVM - Outdoor Units

Daikin FTKD60BVM
298 pages
Print Icon
To Next Page IconTo Next Page
To Next Page IconTo Next Page
To Previous Page IconTo Previous Page
To Previous Page IconTo Previous Page
Loading...
Piping Diagrams Si12-411A
266 Appendix
1.2 Outdoor Units
1.2.1 Cooling Only
2MK58BVM
3MK58BVM
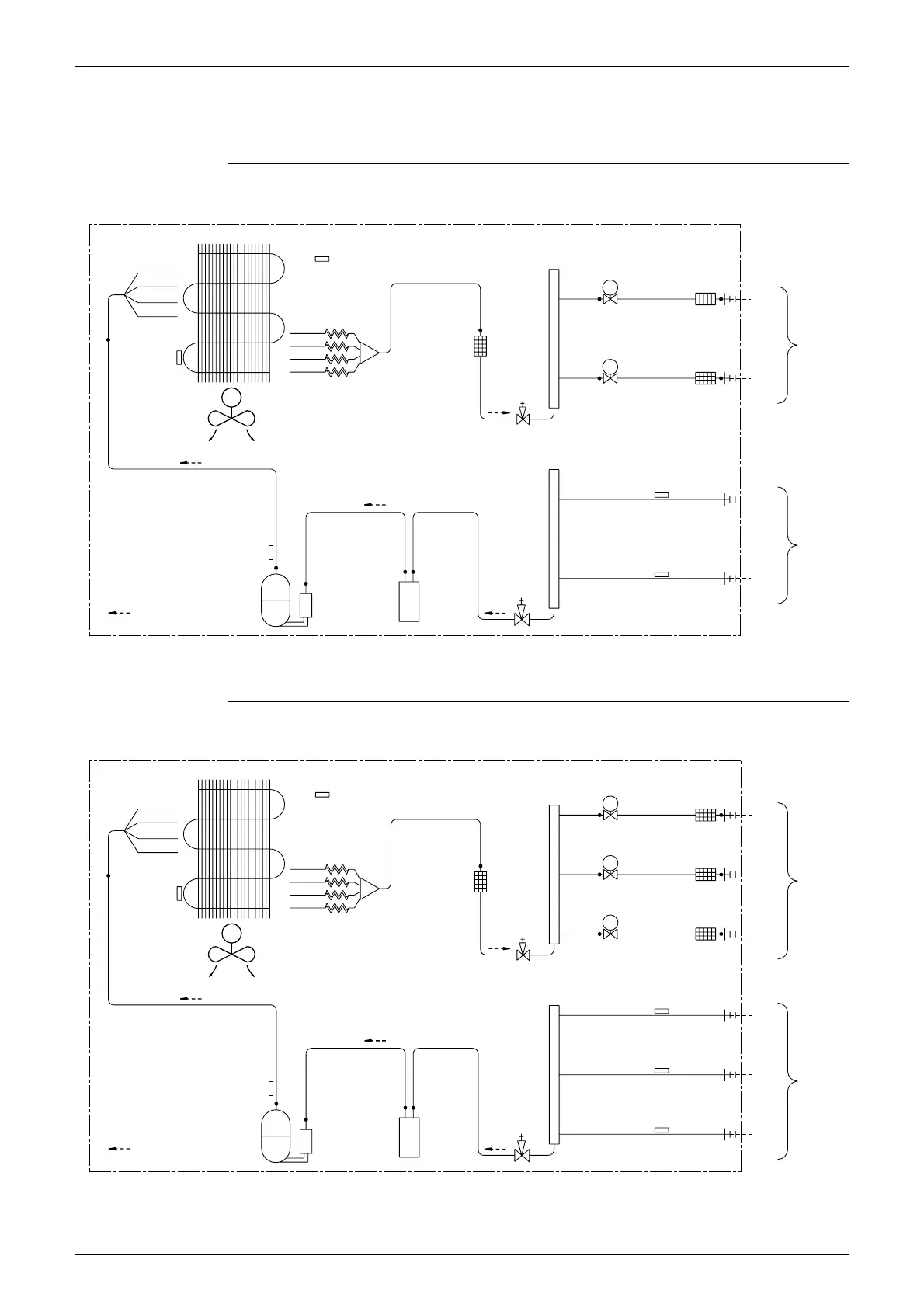
REFRIGERANT FLOW
9.5CuT
HEAT EXCHANGER
THERMISTOR
(
DE
)
OUTDOOR UNIT
COOLING
7.9CuT
PROPELLER FAN
DC FAN MOTOR
HEAT EXCHANGER
DISCHARGE PIPE
THERMISTOR
(
DO
)
COMPRESSOR
M
OUTDOOR TEMPERATURE
THERMISTOR
(
DOA
)
CAPILLARY TUBE
ACCUMULATOR
12.7CuT
DISTRIBUTOR
ACCUMULATOR
9.5CuT
12.7CuT
FILTER
STOP VALVE
LIQUID LINE
STOP VALVE
GAS LINE
HEADER
HEADER
6.4CuT
6.4CuT
MOTOR OPERATED VALVE
MOTOR OPERATED VALVE
12.7CuT
12.7CuT
EV
EV
GAS PIPE THERMISTOR
(
DGB
)
GAS PIPE THERMISTOR
(
DGA
)
A
B
FILTER
FILTER
(
6.4 CuT
)
(
6.4 CuT
)
(
12.7 CuT
)
(
12.7 CuT
)
3D036222B
ROOM B
ROOM A
ROOM B
ROOM A
GAS
FIELD
FIELD
PIPING
PIPING
LIQUID
REFRIGERANT FLOW
9.5CuT
HEAT EXCHANGER
THERMISTOR
(
DE
)
OUTDOOR UNIT
COOLING
7.9CuT
PROPELLER FAN
DC FAN MOTOR
HEAT EXCHANGER
DISCHARGE PIPE
THERMISTOR
(
DO
)
COMPRESSOR
M
OUTDOOR TEMPERATURE
THERMISTOR
(
DOA
)
CAPILLARY TUBE
ACCUMULATOR
12.7CuT
DISTRIBUTOR
ACCUMULATOR
9.5CuT
12.7CuT
FILTER
STOP VALVE
LIQUID LINE
STOP VALVE
GAS LINE
HEADER
HEADER
6.4CuT
6.4CuT
6.4CuT
MOTOR OPERATED VALVE
MOTOR OPERATED VALVE
MOTOR OPERATED VALVE
12.7CuT
12.7CuT
12.7CuT
EV
EV
EV
GAS PIPE THERMISTOR
(
DGC
)
GAS PIPE THERMISTOR
(
DGB
)
GAS PIPE THERMISTOR
(
DGA
)
B
C
A
FILTER
FILTER
FILTER
(
6.4 CuT
)
(
6.4 CuT
)
(
6.4 CuT
)
(
12.7 CuT
)
(
12.7 CuT
)
(
12.7 CuT
)
ROOM B
ROOM C
ROOM A
ROOM B
ROOM C
ROOM A
3D036221B
GAS
FIELD
FIELD
PIPING
PIPING
LIQUID

Table of Contents

Other manuals for Daikin FTKD60BVM

Related product manuals