EasyManua.ls Logo

Daikin FTXS25D3VMW - Page 339

Daikin FTXS25D3VMW
355 pages
Print Icon
To Next Page IconTo Next Page
To Next Page IconTo Next Page
To Previous Page IconTo Previous Page
To Previous Page IconTo Previous Page
Loading...
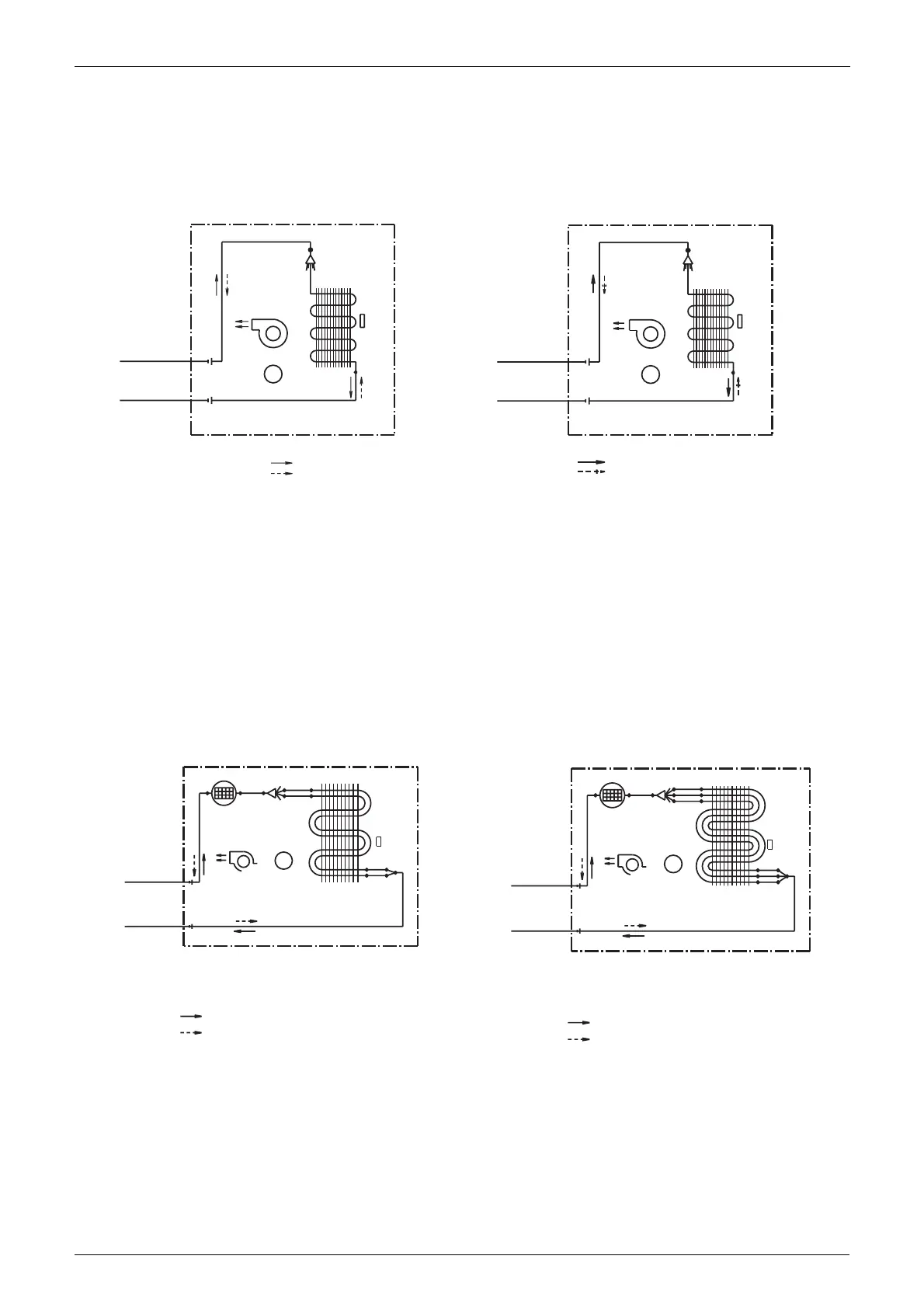
Piping Diagrams SiENBE12-713
328 Appendix
1.1.4 Floor Standing Type
FLXS25BAVMB, FLXS35BAVMB FLXS50BAVMB, FLXS60BAVMB
FIELD PIPING
(
6.4CuT
)
FIELD PIPING
(
9.5CuT
)
INDOOR UNIT
(
6.4CuT
)
SIROCCO FAN
(
9.5CuT
)
FAN MOTOR
M
HEAT EXCHANGER
REFRIGERANT FLOW
COOLING
HEATING
THERMISTOR
ON HEAT
EXCH.
4D048722A
FIELD PIPING
FIELD PIPING
(
6.4CuT
)
(
12.7CuT
)
REFRIGERANT FLOW
HEATING
COOLING
INDOOR UNIT
(
9.5CuT
)
SIROCCO FAN
(
12.7CuT
)
FAN MOTOR
M
HEAT EXCHANGER
THERMISTOR
ON HEAT
EXCH.
4D048724A
FVXS25FV1B, FVXS35FV1B FVXS50FV1B
MUFFLER ASSY
6.4CuT
6.4CuT
FIELD PIPING
TURBO FAN
FIELD PIPING
HEAT EXCHANGER
REFRIGERANT FLOW
6.4CuT
(6.4CuT)
FAN MOTOR
9.5CuT
M
6.4CuT
6.4CuT
7.0CuT
COOLING
(9.5CuT)
HEATING
INDOOR UNIT
THERMISTOR
ON HEAT
EXCH.
4D056137
FAN MOTOR
(6.4CuT)
7.0CuT
TURBO FAN
6.4CuT
6.4CuT
6.4CuT
COOLING
M
6.4CuT
6.4CuT
HEATING
HEAT EXCHANGER
(12.7CuT)
FIELD PIPING
6.4CuT
MUFFLER ASSY
INDOOR UNIT
6.4CuT
9.5CuT
REFRIGERANTFLOW
FIELD PIPING
THERMISTOR
ON HEAT
EXCH.
4D056138

Table of Contents

Other manuals for Daikin FTXS25D3VMW

Related product manuals