EasyManua.ls Logo

Daikin RXP50M2V1B - Page 74

Daikin RXP50M2V1B
76 pages
Print Icon
To Next Page IconTo Next Page
To Next Page IconTo Next Page
To Previous Page IconTo Previous Page
To Previous Page IconTo Previous Page
Loading...
17 | Technical data
Installer reference guide
74
ARXM50-71+RXM42~71R2V1B + RXP50~71M2V1B + RXA42+50B2V1B +
RXF50+60B2V1B + RXF71A2V1B + RXJ50N2V1B + ARXF50~71A2V1B
R32 split series
4P513661-9J – 2020.05
12.7 CuT
12.7 CuT
12.7 CuT
12.7 CuT
12.7 CuT
6.4 CuT
6.4 CuT
6.4 CuT
6.4 CuT
6.4 CuT 6.4 CuT
12.7 CuT
7.0 CuT
7.0 CuT
7.0 CuT
7.0 CuT
4.0 CuT
4.0 CuT
4.0 CuT
7.0 CuT
7.0 CuT
9.5 CuT
9.5 CuT
9.5 CuT
9.5 CuT
b
a
c
d
f
h
g
j1
j3
j2
k
m
m
m
n
M
o
e
l
i
i
i
RXM50R, RXM60R, ARXM50R, ARXM60R
12.7 CuT
12.7 CuT
9.5 CuT
9.5 CuT
9.5 CuT
9.5 CuT
9.5 CuT
6.4 CuT
6.4 CuT
6.4 CuT 6.4 CuT
6.4 CuT
6.4 CuT
12.7 CuT
12.7 CuT
7.0 CuT
7.0 CuT
7.0 CuT
7.0 CuT
7.0 CuT
7.0 CuT
j3
b
a
c
d
f
h
g
j1
i
i
i
4.0 CuT
4.0 CuT
4.0 CuT
j2
m
m
m
n
M
o
e
l
k
RXM42R
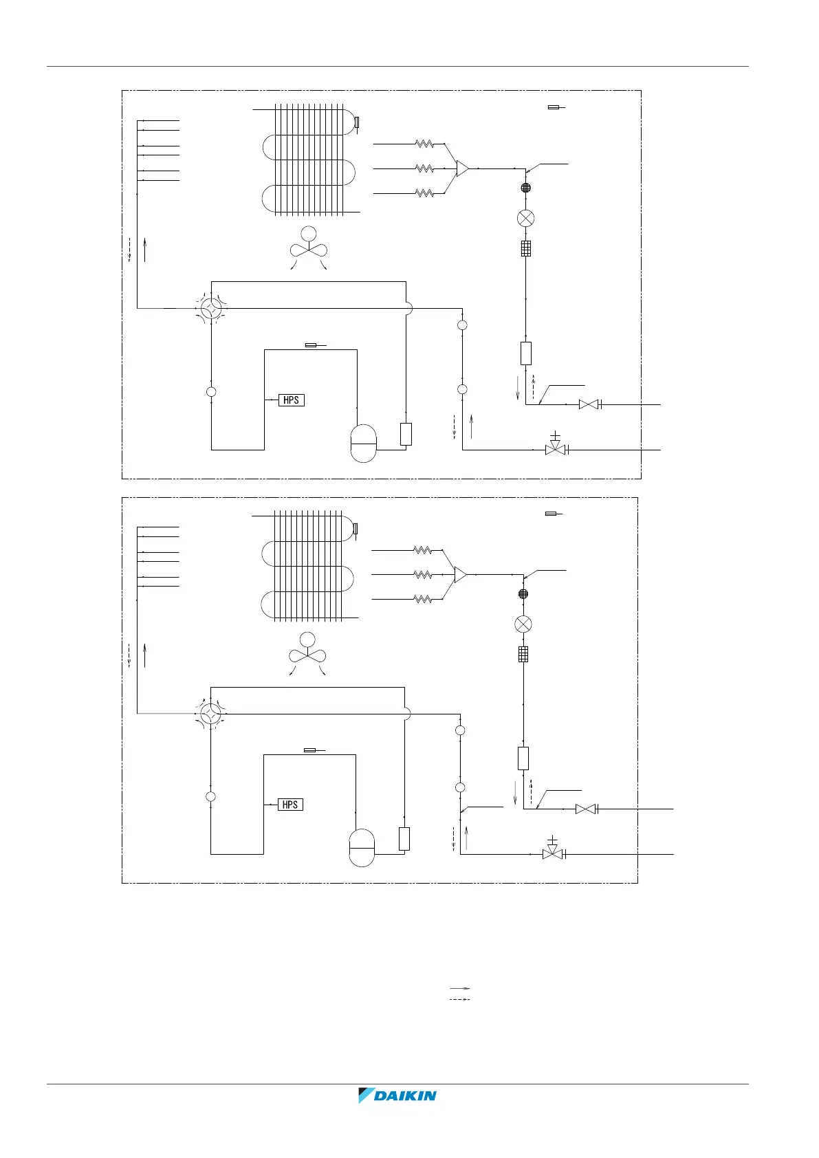
a Liquid field piping j3 Discharge pipe thermistor
b Gas field piping k Heat exchanger
c Liquid stop valve l 4-way valve (ON: heating)
d Gas stop valve m Muffler
e Liquid receiver n Compressor
f Filter o Accumulator
g Electronic expansion valve HPS High pressure switch (automatic reset)
h Muffler with filter M Propeller fan
i Capillary tube Refrigerant flow: cooling
j1 Outdoor temperature thermistor Refrigerant flow: heating
j2 Heat exchanger thermistor

Table of Contents

Other manuals for Daikin RXP50M2V1B

Related product manuals