EasyManua.ls Logo

Daikin RYS35BVMB - Page 191

Daikin RYS35BVMB
201 pages
Print Icon
To Next Page IconTo Next Page
To Next Page IconTo Next Page
To Previous Page IconTo Previous Page
To Previous Page IconTo Previous Page
Loading...
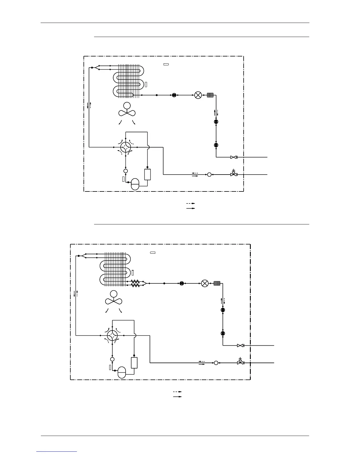
Piping Diagrams SiBE04-302
182 Appendix
RXS25 / 35BVMB, ARXS25 / 35BVMB, RX35BVMB, ARX35BVMB, RYS35BVBM
RX25BVMB, ARX25BVMB, RYS20 / 25BVMB
9.5CuT
7.9CuT
7.9CuT
THERMISTOR
DISCHARGE PIPE
OUTDOOR UNIT
MUFFLER
HEAT EXCHANGER
7.9CuT
M
COMPRESSOR
VALVE
FOUR WAY
ON : COOLING
9.5CuT
PROPELLER FAN
7.9CuT
HEAT EXCHANER
THERMISTOR
ACCUMLATOR
OUTDOOR TEMPARATURE
THERMISTOR
6.4CuT
MUFFLER
FILTER
WITH
9.5CuT
6.4CuT
REFRIGERANT FLOW
VALVE
MOTOR OPERATED
COOLING
HEATING
MUFFLER
FILTER
9.5CuT
6.4CuT
MUFFLER
6.4CuT6.4CuT
FILTER
FILTER
LIQUID RECEIVER
WITH
WITH
VALVE
LIQUID STOP
VALVE
GAS STOP
FIELD PIPING
FIELD PIPING
(
6.4CuT
)
(
9.5CuT
)
3D039302
9.5CuT
7.9CuT
7.9CuT
THERMISTOR
DISCHARGE PIPE
MUFFLER
PROPELLER FAN
HEAT EXCHANGER
7.9CuT
M
COMPRESSOR
VALVE
FOUR WAY
ON: COOLING
9.5CuT
CAPILLARY TUBE 2
CAPILLARY TUBE 1
HEAT EXCHANGER
THERMISTOR
ACCUMLATOR
THERMISTOR
OUTDOOR TEMPERATURE
7.9CuT
9.5CuT
6.4CuT
REFRIGERANT FLOW
MUFFLER
FILTER
WITH
HEATING
COOLING
6.4CuT
VALVE
MOTOR OPERATED
MUFFLER
FILTER
9.5CuT
6.4CuT
MUFFLER
6.4CuT6.4CuT
FILTER
FILTER
LIQUID RECEIVER
WITH
WITH
VALVE
LIQUID STOP
VALVE
GAS STOP
FIELD PIPING
FIELD PIPING
(
6.4CuT
)
(
9.5CuT
)
3D039301A
OUTDOOR UNIT

Table of Contents

Other manuals for Daikin RYS35BVMB

Related product manuals