EasyManua.ls Logo

Daikin Super Multi NX FCQ60C8VEB

Daikin Super Multi NX FCQ60C8VEB
501 pages
To Next Page IconTo Next Page
To Next Page IconTo Next Page
To Previous Page IconTo Previous Page
To Previous Page IconTo Previous Page
Loading...
Troubleshooting for Outdoor Unit SiBE121021_C
356 Service Diagnosis
Troubleshooting
Check No.15
Refer to P.366
Check No.17
Refer to P.368
Check No.18
Refer to P.368
Check No.22
Refer to P.369
(R14418)
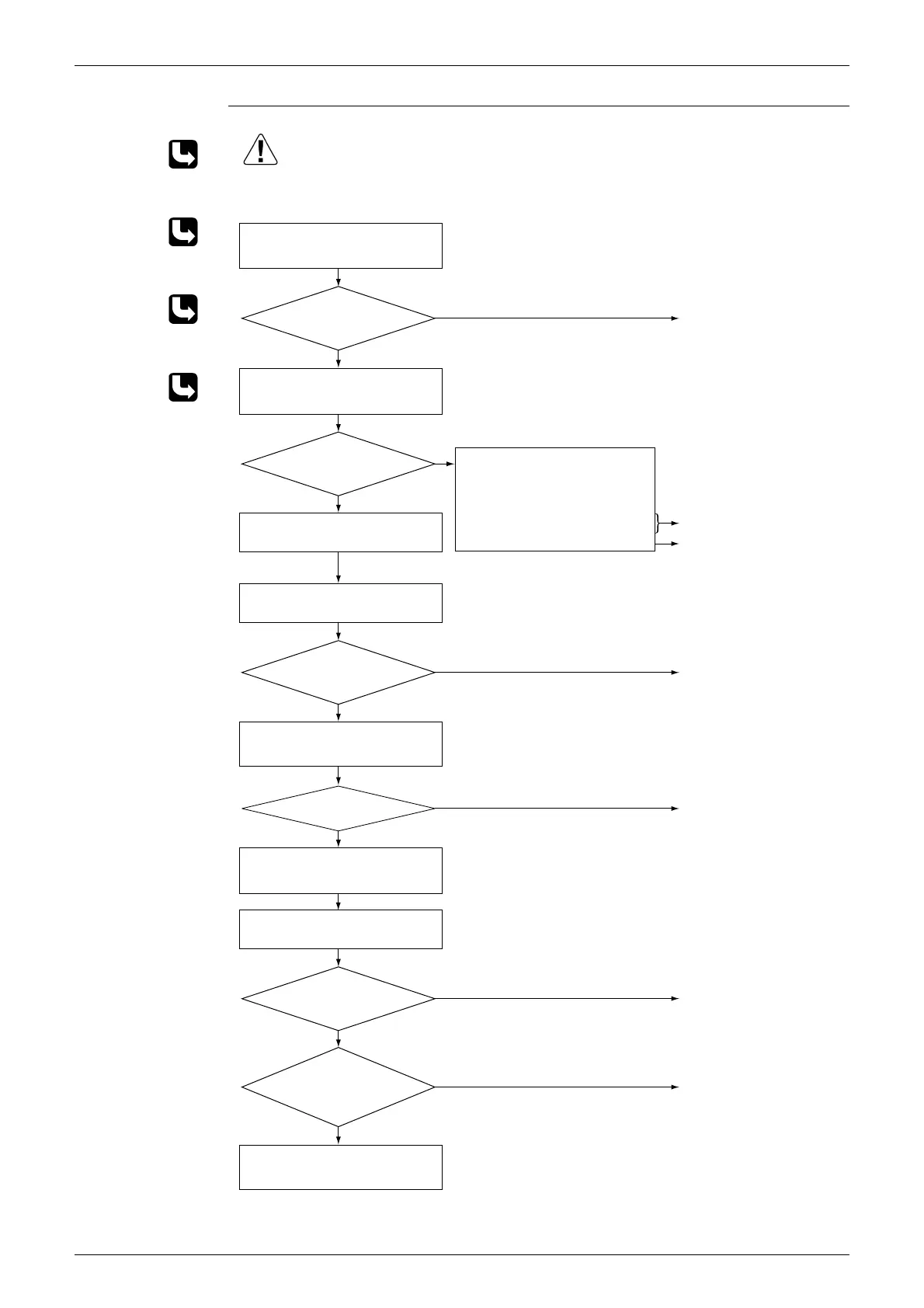
Caution
NO
YES
NO
YES
NO
YES
YES
NO
NO
YES
YES
NO
Check No. 17
Check the installation condition.
Turn off the power and turn it on
again to start the system. See if the
same error occurs.
Turn off the power and disconnect
the harnesses U, V, and W.
Check No. 15
Check with the inverter checker ().
Check No. 22
Check the power module.
Turn off the power, and reconnect
the harnesses. Turn on the power
again and start operation.
Check the supply voltage.
Check No. 18
Check the discharge pressure.
An output overcurrent may result from wrong internal wiring. If the system is interrupted by an output
overcurrent after the wires have been disconnected and reconnected for part replacement, check the
wiring again.
Monitor the supply voltage,
discharge and suction pressures,
and other factors for a long term.
Possible causes
Momentary fall of supply voltage
Compressor overload
Short circuit
Keep on using as it is.
Check the connectors and
other components.
Fully open the stop valve.
Correct the power supply.
Replace the compressor.
Correct the power supply or
replace the PM1.
(Replace the outdoor unit
PCB.)
Replace the PM1.
(Replace the outdoor unit
PCB.)
Inverter checker
Part No.: 1225477
Be sure to turn off the power switch before connecting or disconnecting
connectors, or parts may be damaged.
Stop valve fully open?
Error again?
Any LED off?
Normal?
Voltage as rated?
Short circuit or wire
breakage between
compressor's coil
phases?

Table of Contents

Related product manuals