EasyManua.ls Logo

Daikin Super Multi NX FCQ60C8VEB

Daikin Super Multi NX FCQ60C8VEB
501 pages
To Next Page IconTo Next Page
To Next Page IconTo Next Page
To Previous Page IconTo Previous Page
To Previous Page IconTo Previous Page
Loading...
SiBE121021_C Piping Diagrams
Appendix 465
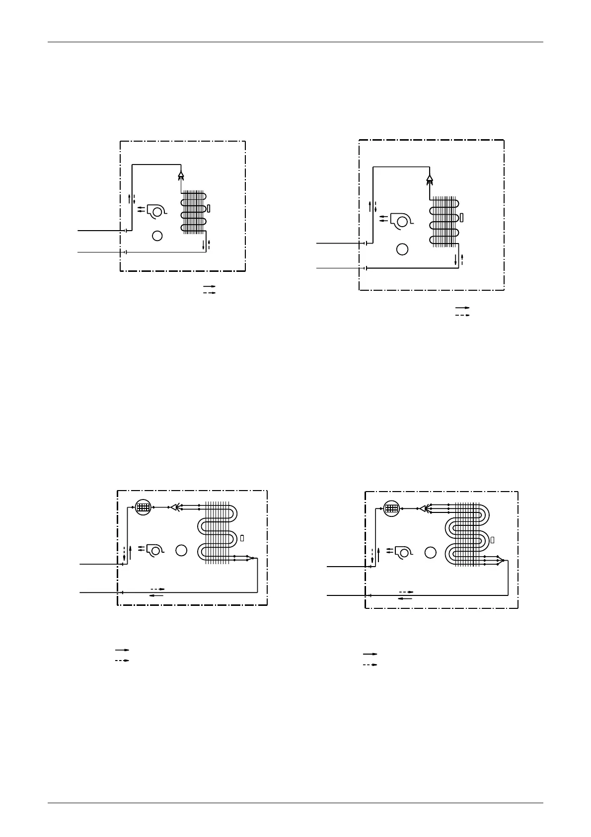
1.1.2 Floor Standing Type
FTXS60GV1B FTXS71GV1B
THERMISTOR
ON HEAT EXCH.
COOLING
HEATING
INDOOR UNIT
(
7.9CuT
)
CROSS FLOW FAN
FIELD PIPING
FIELD PIPING
(
6.4CuT
)
(
12.7CuT
)
(
12.7CuT
)
FAN MOTOR
M
HEAT EXCHANGER
REFRIGERANT FLOW
4D040081X
THERMISTOR
ON HEAT EXCH.
INDOOR UNIT
(
7.9CuT
)
CROSS FLOW FAN
FIELD PIPING
FIELD PIPING
(
6.4CuT
)
(
15.9CuT
)
M
FAN MOTOR
(
12.7CuT
)
HEAT EXCHANGER
REFRIGERANT FLOW
COOLING
HEATING
4D040082U
FVXS25/35FV1B FVXS50FV1B
THERMISTOR
ON HEAT EXCH.
INDOOR UNIT
MUFFLER ASSY
7.0CuT
6.4CuT
6.4CuT
6.4CuT
6.4CuT
(6.4CuT)
(9.5CuT)
FIELD PIPING
FIELD PIPING
TURBO FAN
FAN MOTOR
9.5CuT
M
HEAT EXCHANGER
6.4CuT
REFRIGERANT FLOW
COOLING
HEATING
4D056137B
6.4CuT
9.5CuT
THERMISTOR
ON HEAT EXCH.
INDOOR UNIT
MUFFLER ASSY
7.0CuT
6.4CuT
6.4CuT
6.4CuT
HEAT EXCHANGER
6.4CuT
6.4CuT
6.4CuT
FIELD PIPING
(6.4CuT)
FIELD PIPING
(12.7CuT)
FAN MOTOR
TURBO FAN
REFRIGERANT FLOW
COOLING
HEATING
M
4D056138B

Table of Contents

Related product manuals