EasyManua.ls Logo

dB Technologies opera 12 - Page 11

dB Technologies opera 12
Print Icon
To Next Page IconTo Next Page
To Next Page IconTo Next Page
To Previous Page IconTo Previous Page
To Previous Page IconTo Previous Page
Loading...
11
OPERA10 - OPERA12 - OPERA 15 Cod. 420120247 REV. 1.0
MIXER / LINEA
MICROFONO
STRUMENTO (ALTA IMPEDENZA)
STRUMENTO (IMPEDENZA DI LINEA)
LINEA
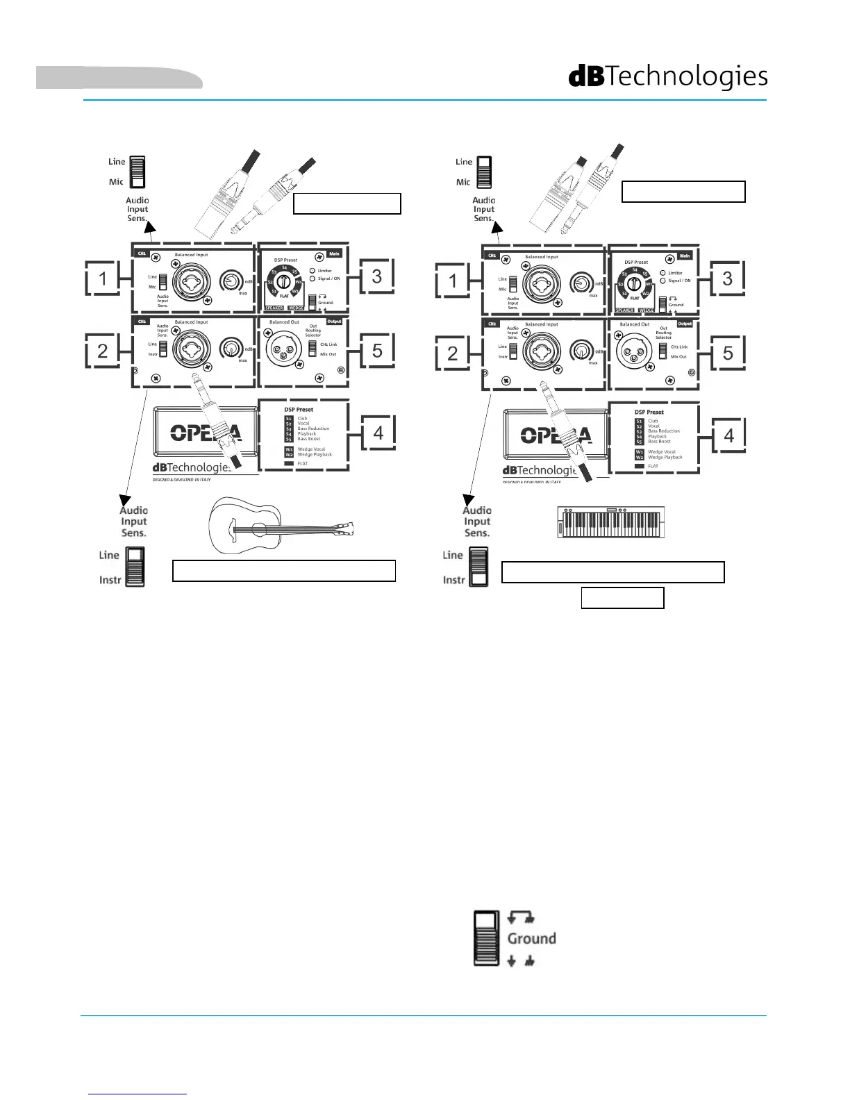
E’ possibile connettere no a 2 ingressi nella sezione di input e controllo sul retro dello speaker. Qui sono
mostrati solo alcuni esempi di congurazione utilizzando 1 ingresso o 2 ingressi.
CH1 (1): è possibile collegare una sorgente tramite cavo con connettore sbilanciato o bilanciato (TRS, XLR).
Selezionare opportunamente la tipologia di ingresso col selettore Input Sensitivity Switch. In particolare, in caso
di ingresso microfonico, selezionare “MIC”.
CH2 (2): è possibile collegare una sorgente tramite cavo con connettore sbilanciato o bilanciato (TRS, XLR).
Selezionare opportunamente la tipologia di ingresso col selettore Input Sensitivity Switch. In particolare, in caso
di ingresso ad alta impedenza, come quello di un basso o una chitarra, selezionare “Instr”. Strumenti o apparati
a impedenza di linea (come ad esempio una tastiera od un’opportuna sorgente CD/Radio/MP3/USB) prevedono
invece l’impostazione “LINE”.
Regolare il livello di ogni canale collegato.
Una volta effettuato il collegamento degli ingressi, selezionare il corretto DSP preset (3).
In caso di problemi legati a ronzii da ritorno di massa, è possibile ovviare a questo inconveniente spostando il
relativo selettore (1) nella posizione qui mostrata.
Italiano

Table of Contents

Related product manuals