EasyManua.ls Logo

Delabie TEMPOMATIC WC - Page 3

Delabie TEMPOMATIC WC
Print Icon
To Next Page IconTo Next Page
To Next Page IconTo Next Page
To Previous Page IconTo Previous Page
To Previous Page IconTo Previous Page
Loading...
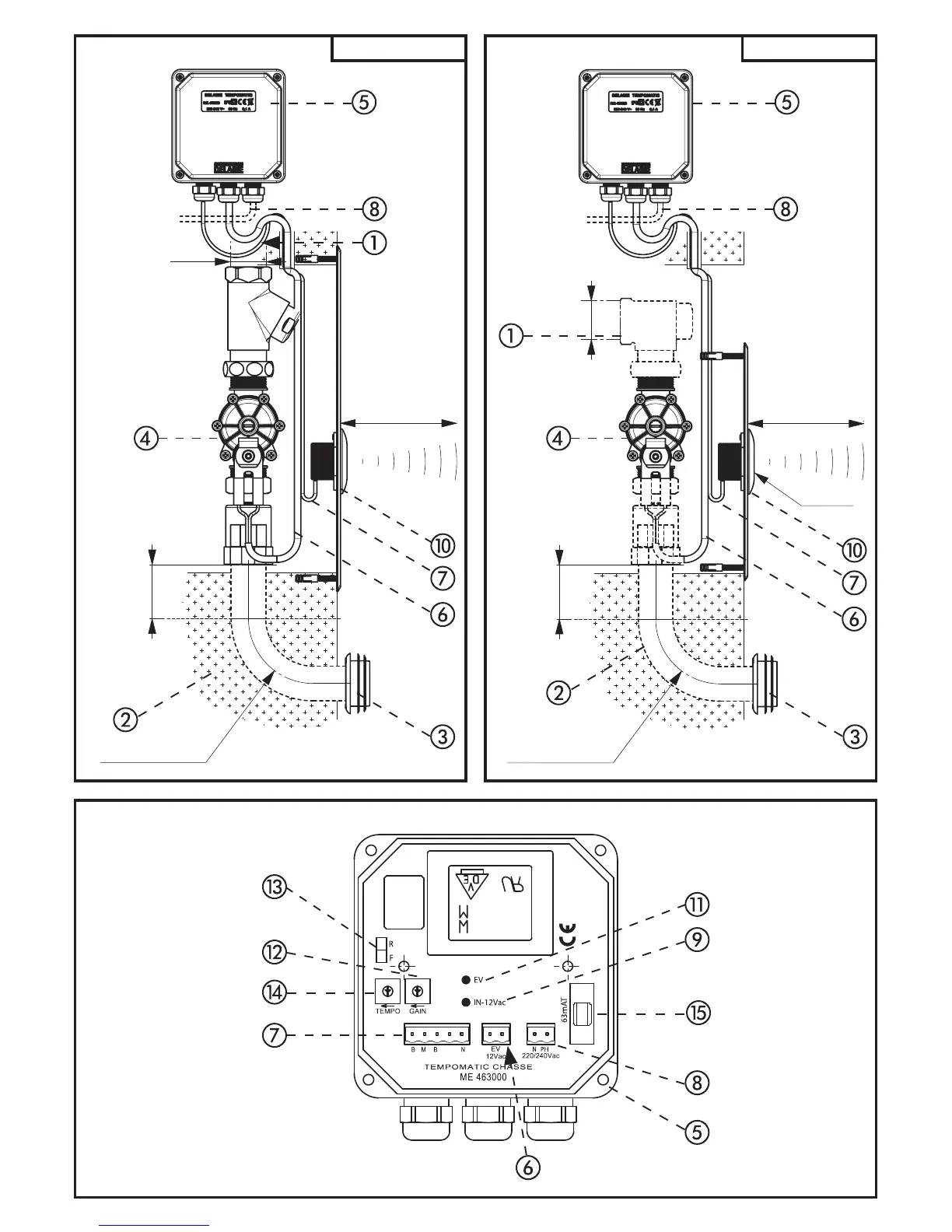
E
C
463326
G
R50 mini
50-90 cm
400 mini
1"
230 VCA
Ø60
R50 mini
50-90 cm
400 mini
1"
230 VCA
Ø60
D
463547

Related product manuals