EasyManua.ls Logo

Delco VERSA 100 - Wiring Diagram; Electrode Check Schematic

Delco VERSA 100
28 pages
Print Icon
To Next Page IconTo Next Page
To Next Page IconTo Next Page
To Previous Page IconTo Previous Page
To Previous Page IconTo Previous Page
Loading...
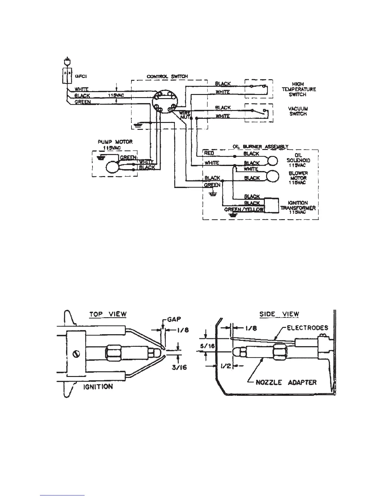
Versa 100/100C Owner's Manual Page 13
Delco Versa 100-200/Versa 100C-200C
Wiring Diagram
Delco Versa 100-200 and Versa 100C-200C
Electrode Check Schematic

Related product manuals