EasyManua.ls Logo

Dell EqualLogic PS6210 - Removing a Power Supply and Cooling Module

Dell EqualLogic PS6210
48 pages
Print Icon
To Next Page IconTo Next Page
To Next Page IconTo Next Page
To Previous Page IconTo Previous Page
To Previous Page IconTo Previous Page
Loading...
PS6210 Hardware Owner's Manual 4 Maintaining Power Supply and Cooling Modules
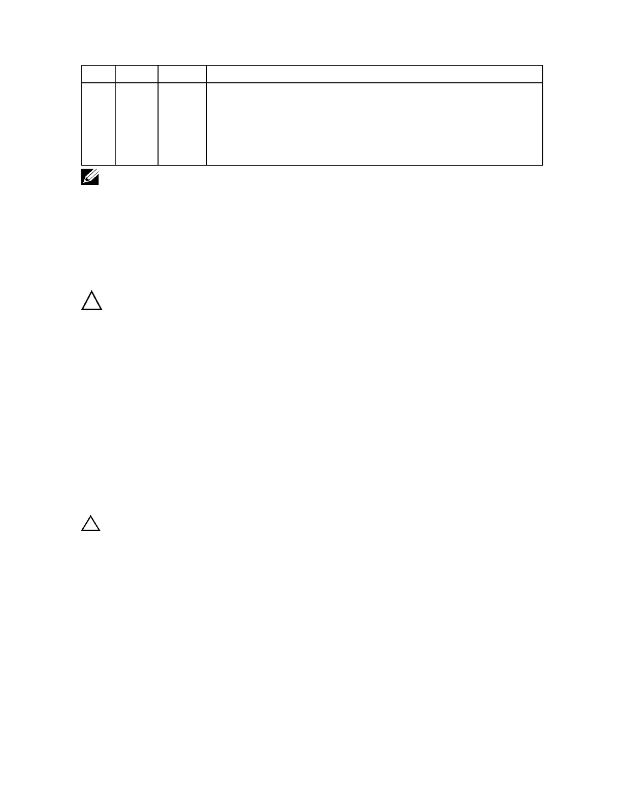
Item LED Color State
3
AC
power
Green
ON—Power supply module is connected to a source of AC power whether or
not the power switch is on.
OFF—Power supply module is completely disconnected from any source of
AC power.
Under normal conditions, the AC and DC power LEDs are lit at the same time.
Removing a Power Supply and Cooling Module
Although an array can operate with only one working module, if a power supply and cooling module
fails, you must replace the module as soon as possible. For proper array cooling, do not remove a failed
module until you are ready to replace it.
You can remove a power supply and cooling module from an array without affecting array operation
if the second module is installed and functioning. However, to maintain proper airflow in the array, a
power supply and cooling module must be replaced within five (5) minutes of removing it. Otherwise,
if possible, cleanly shut down the array before removing the module, as described in Shutting Down
and Restarting an Array on page 6.
How to Remove a Power Supply
Wear electrostatic protection when handling a power supply and cooling module. See Protecting
Hardware on page 1.
To remove a power supply and cooling module:
1. Turn off the power switches on the power supply and cooling module.
2. Disengage the hook-and-loop fastener from around the power cable.
3. Remove the power cable.
4. With your right hand, hold the handle and push the orange release latch to the right with your
thumb.
5. Pull the module from the slot, as shown in Figure 30 and Figure 31.
The module is heavy. Support it with two hands.
33