EasyManua.ls Logo

Delta DOP-A - Page 4

Delta DOP-A
53 pages
Print Icon
To Next Page IconTo Next Page
To Next Page IconTo Next Page
To Previous Page IconTo Previous Page
To Previous Page IconTo Previous Page
Loading...
English-3
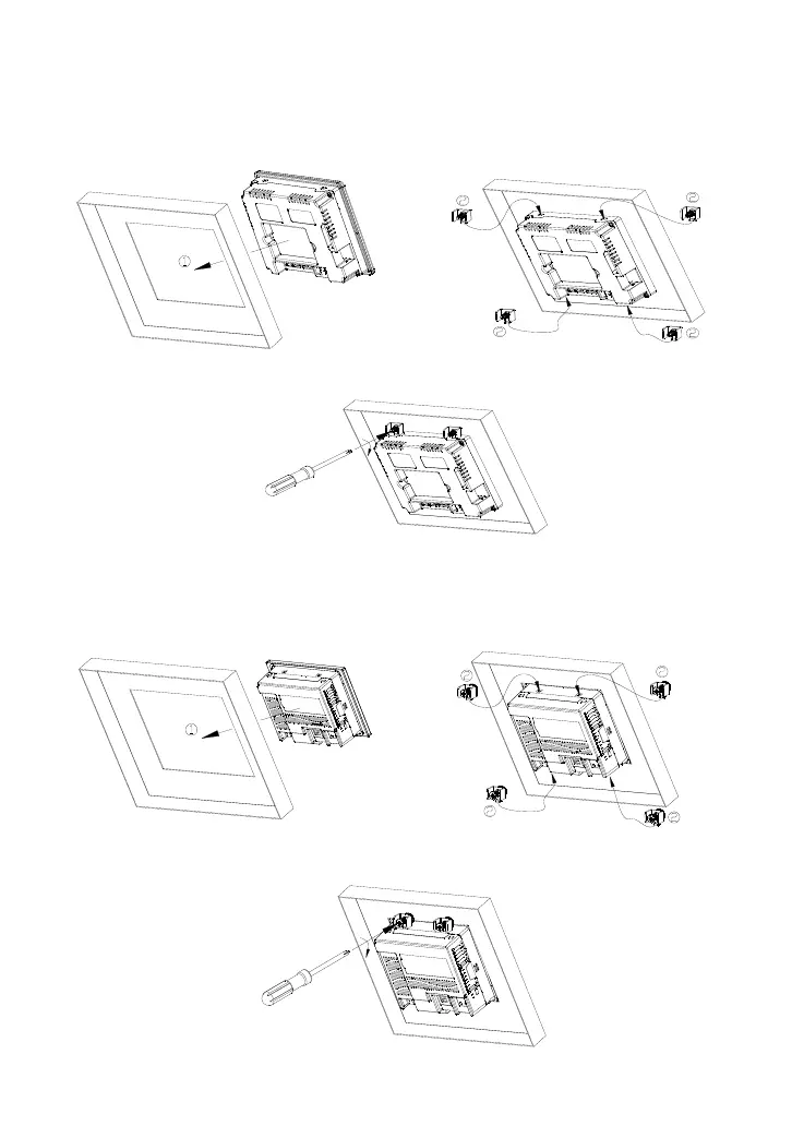
Installation Method [A and AE Series]:
Step 1:
Ensure to put waterproof gasket into HMI and then
insert the HMI into the panel cutout.
Step 2:
Ensure to insert fasteners into the HMI’s insertion slots
and turn the screw till screws touch panel cutout.
Step 3:
Turn the screw with less than torque 0.7N-M to avoid damage to plastic box. Torque: 6.17lb-inch(0.7N-M)
Installation Method [AS Series]:
Step 1:
Ensure to put waterproof gasket into HMI and then
insert the HMI into the panel cutout.
Step 2:
Ensure to insert fasteners into the HMI’s insertion slots
and turn the screw till screws touch panel cutout.
Step 3:
Turn the screw with less than torque 0.7N-M to avoid damage to plastic box. Torque: 6.17lb-inch(0.7N-M)
Call 1(800)985-6929 for Sales
deltaacdrives.com
sales@deltaacdrives.com
Call 1(800)985-6929 for Sales
deltaacdrives.com
sales@deltaacdrives.com

Related product manuals