EasyManua.ls Logo

Desa RM60 - Product Identification; Theory of Operation

Default Icon
14 pages
Print Icon
To Next Page IconTo Next Page
To Next Page IconTo Next Page
To Previous Page IconTo Previous Page
To Previous Page IconTo Previous Page
Loading...
3
104672
OWNER’S MANUAL
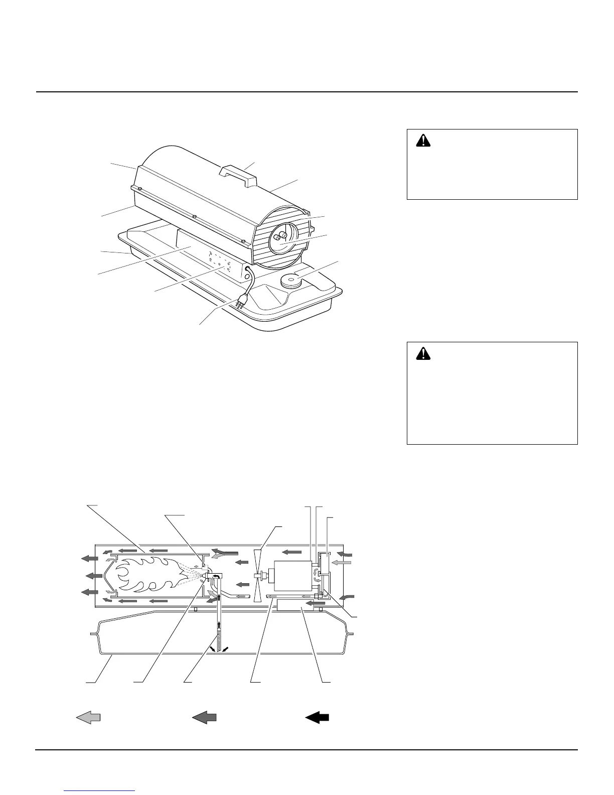
Figure 2 - Cross Section Operational View
Clean
Heated
Air Out
Figure 1
Handle
Fuel Cap
Lower Shell
Power Cord
Fuel Tank
Hot Air Outlet
Air Filter
End Cover
Fan Guard
Upper Shell
Side Cover
Ignition Control Assembly
(assembly on inside of side cover)
PRODUCT IDENTIFICATION
The Fuel System: The air pump forces
air through the air line. The air is then
pushed through the nozzle. This air causes
fuel to lift from the tank. A fine mist of fuel
is sprayed into the combustion chamber.
The Air System: The motor turns the fan.
The fan pushes air into and around the
combustion chamber. This air is heated and
provides a stream of clean, hot air.
The Ignition System: The ignition con-
trol assembly provides power to the ignitor.
This ignites the fuel/air mixture in the com-
bustion chamber.
The Flame-Out Control System: This
system causes the heater to shut down if the
flame goes out.
Fuel
Filter
Air Line
To Burner
Air
Output
Filter
Air Pump
Air Intake
Filter
Cool
Air In
Fan
Combustion Chamber
Ignitor
Motor
Ignition Control
Assembly
Air For Fuel System
Air For Combustion
And Heating
Fuel
Nozzle
Fuel
Tank
THEORY OF OPERATION
Do not use heavy fuels such as No. 2 fuel oil
or No. 2 Diesel. Using heavy fuels will
result in a clogged fuel filter and/or nozzle.
IMPORTANT:
Use a KEROSENE ONLY
storage container. Be sure storage container is
clean. Foreign matter such as rust, dirt, or
water will cause the ignition control assembly
to shut down the heater. Foreign matter may
also require you to clean fuel system often.
Provide at least a three-square-foot opening
of fresh, outside air for each 100,000 Btu/Hr
rating. Provide extra fresh air if more heat-
ers are being used.
Example:
A 60,000 Btu/Hr heater requires
one of the following:
a two-car garage door (16 feet wide open-
ing) raised 1
1
/2"inches
a single-car garage door (9 feet wide
opening) raised 2
1
/2" inches
two windows (30 inches wide opening)
raised 4
1
/2" inches
FUELS
WARNING: Use only kerosene
or No. 1 fuel oil to avoid risk of fire
or explosion. Never use gasoline,
naphtha, paint thinners, alcohol,
or other highly flammable fuels.
VENTILATION
WARNING: Follow the mini-
mum fresh, outside air ventila-
tion requirements. If proper fresh,
outside air ventilation is not pro-
vided, carbon monoxide poison-
ing can occur. Provide proper
fresh, outside air ventilation be-
fore running heater.

Related product manuals